Официальное опубликование правовых актов
ОФИЦИАЛЬНОЕ ОПУБЛИКОВАНИЕ
Приказ департамента природных ресурсов и экологии Воронежской области от 12.03.2019 № 101
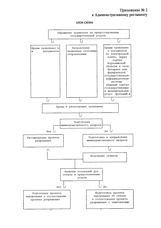
"Об утверждении Административного регламента департамента природных ресурсов и экологии Воронежской области по предоставлению государственной услуги "Согласование проекта разрешения на создание искусственного земельного участка на водном объекте, находящемся в федеральной собственности, или его части"
(Зарегистрирован 20.03.2019 № 200)
Номер опубликования: 3601201903210008
Дата опубликования: 21.03.2019
Страница №38 из 39:
Увеличить