Официальное опубликование правовых актов
ОФИЦИАЛЬНОЕ ОПУБЛИКОВАНИЕ
Приказ управления по охране объектов культурного наследия Воронежской области от 03.04.2018 № 71-01-07/65
"О внесении изменений в приказ управления культуры Воронежской области от 08.12.2009 № 620-ОД "Об утверждении границ территорий и режима использования территорий объектов культурного наследия регионального значения, расположенных в городском округе город Воронеж"
(Зарегистрирован 11.04.2018 № 187)
Номер опубликования: 3601201804120005
Дата опубликования: 12.04.2018
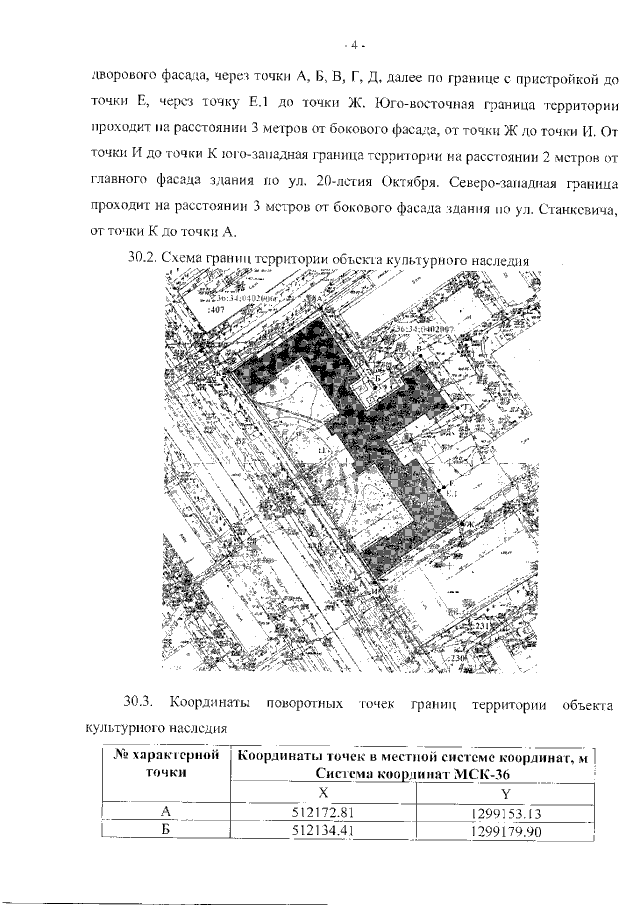
Страница №4 из 16:
Увеличить