Официальное опубликование правовых актов
ОФИЦИАЛЬНОЕ ОПУБЛИКОВАНИЕ
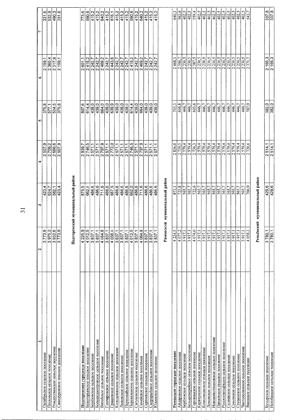
Постановление Правительства Воронежской области от 20.03.2024 № 180
"О региональных стандартах стоимости жилищно-коммунальных услуг на 2024 год по Воронежской области"
Номер опубликования: 3600202403210003
Дата опубликования: 21.03.2024
Страница №32 из 35:
Увеличить