Официальное опубликование правовых актов
ОФИЦИАЛЬНОЕ ОПУБЛИКОВАНИЕ
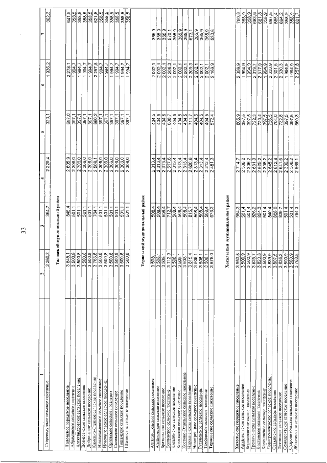
Постановление правительства Воронежской области от 03.12.2021 № 697
"О региональных стандартах стоимости жилищно-коммунальных услуг на 2022 год по Воронежской области"
Номер опубликования: 3600202112060004
Дата опубликования: 06.12.2021
Страница №34 из 35:
Увеличить