Официальное опубликование правовых актов
ОФИЦИАЛЬНОЕ ОПУБЛИКОВАНИЕ
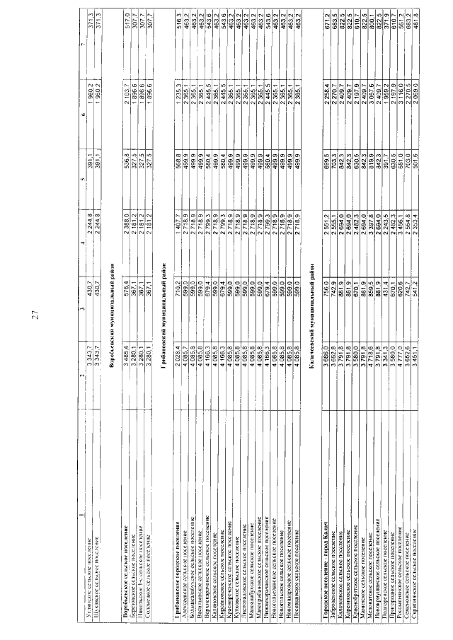
Постановление правительства Воронежской области от 22.09.2020 № 901
"О внесении изменений в постановление правительства Воронежской области от 09.12.2019 № 1189"
Номер опубликования: 3600202009240002
Дата опубликования: 24.09.2020
Страница №29 из 38:
Увеличить