Официальное опубликование правовых актов
ОФИЦИАЛЬНОЕ ОПУБЛИКОВАНИЕ
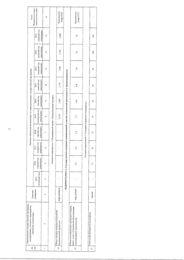
Постановление правительства Воронежской области от 30.03.2020 № 269
"О внесении изменений в постановление правительства Воронежской области от 30.10.2015 № 840"
Номер опубликования: 3600202004010006
Дата опубликования: 01.04.2020
Страница №36 из 95:
Увеличить