Приказ Комитета по охране объектов культурного наследия Вологодской области от 07.04.2020 № 2-О/01-13
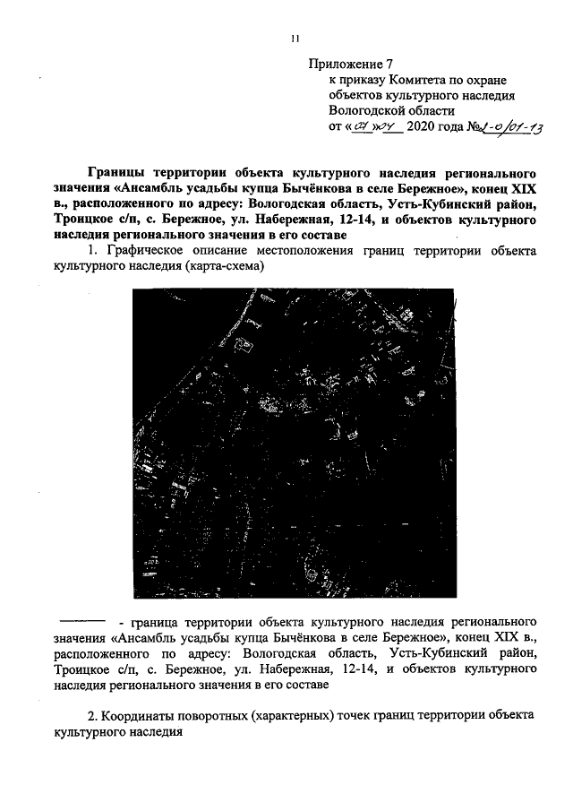
"О включении выявленного объекта культурного наследия "Ансамбль усадьбы купца Бычёнкова в селе Бережное", конец XIX в.‚ расположенного по адресу: Вологодская область, Усть-Кубинский район, Троицкое с/п, с. Бережное, ул. Набережная, 12-14, и выявленных объектов культурного наследия в его составе в Единый государственный реестр объектов культурного наследия (памятников истории и культуры) народов Российской Федерации в качестве объектов культурного наследия регионального значения и утверждении границ их территории"
"О включении выявленного объекта культурного наследия "Ансамбль усадьбы купца Бычёнкова в селе Бережное", конец XIX в.‚ расположенного по адресу: Вологодская область, Усть-Кубинский район, Троицкое с/п, с. Бережное, ул. Набережная, 12-14, и выявленных объектов культурного наследия в его составе в Единый государственный реестр объектов культурного наследия (памятников истории и культуры) народов Российской Федерации в качестве объектов культурного наследия регионального значения и утверждении границ их территории"
Номер опубликования: 3501202004070002
Дата опубликования:
07.04.2020
