Официальное опубликование правовых актов
ОФИЦИАЛЬНОЕ ОПУБЛИКОВАНИЕ
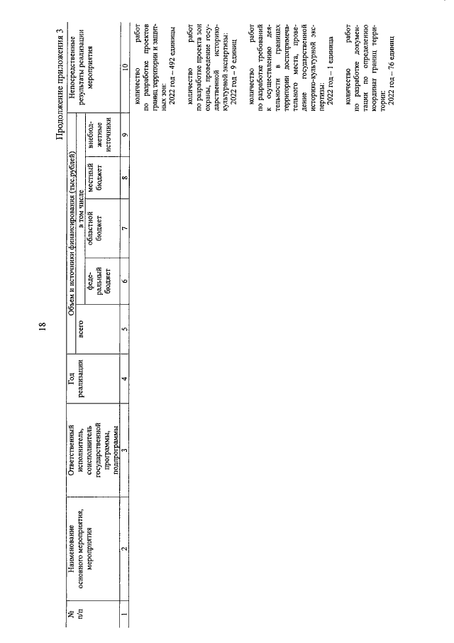
Постановление Администрации Волгоградской области от 22.03.2022 № 151-п
"О внесении изменений в постановление Администрации Волгоградской области от 08 мая 2015 г. № 217-п "Об утверждении государственной программы Волгоградской области "Развитие культуры в Волгоградской области"
Номер опубликования: 3400202203240004
Дата опубликования: 24.03.2022
Страница №19 из 100:
Увеличить