Официальное опубликование правовых актов
ОФИЦИАЛЬНОЕ ОПУБЛИКОВАНИЕ
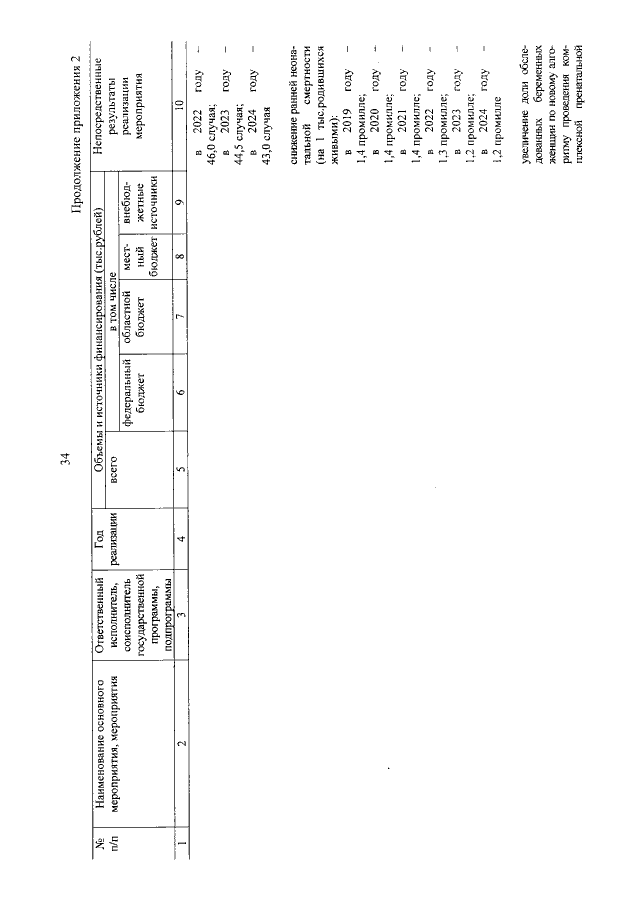
Постановление Администрации Волгоградской области от 30.12.2021 № 791-п
"О внесении изменений в постановление Правительства Волгоградской области от 25 ноября 2013 г. № 666-п "Об утверждении государственной программы Волгоградской области "Развитие здравоохранения в Волгоградской области"
Номер опубликования: 3400202112300012
Дата опубликования: 30.12.2021
Страница №35 из 192:
Увеличить