Официальное опубликование правовых актов
ОФИЦИАЛЬНОЕ ОПУБЛИКОВАНИЕ
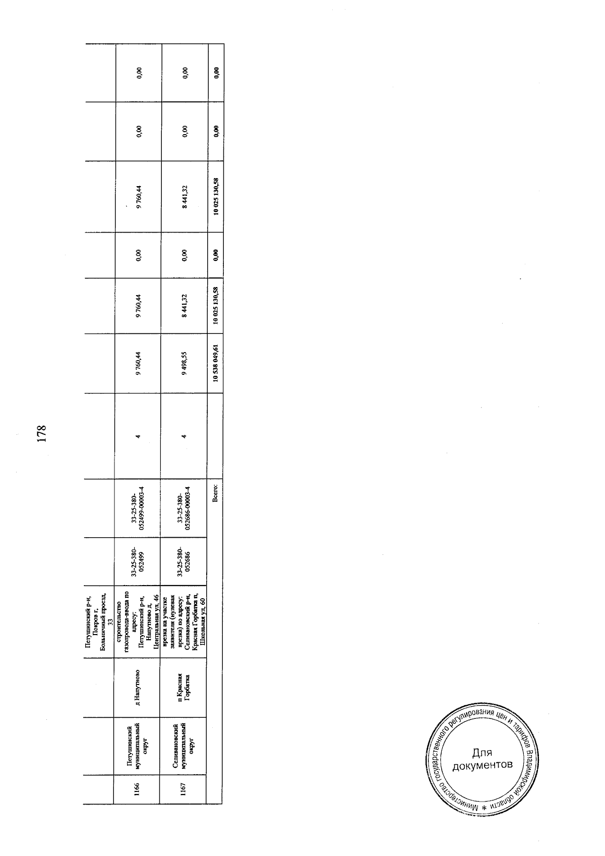
Приказ Министерства государственного регулирования цен и тарифов Владимирской области от 29.01.2026 № 3/14
"Об утверждении экономически обоснованных фактически понесенных расходов АО "Газпром газораспределение Владимир" на выполнение мероприятий по технологическому присоединению в рамках догазификации в 4 квартале 2025 года"
(Зарегистрирован 29.01.2026 № МГРЦТ2026-014)
Номер опубликования: 3301202602020005
Дата опубликования: 02.02.2026
Страница №178 из 178:
Увеличить