Официальное опубликование правовых актов
ОФИЦИАЛЬНОЕ ОПУБЛИКОВАНИЕ
Постановление Департамента юстиции Владимирской области от 08.06.2022 № 5
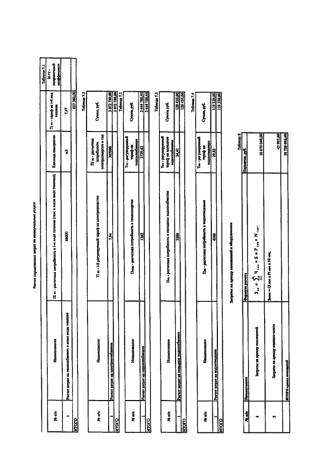
"Об утверждении нормативных затрат на обеспечение функций Департамента юстиции Владимирской области"
Номер опубликования: 3301202206100003
Дата опубликования: 10.06.2022
Страница №7 из 16:
Увеличить