Официальное опубликование правовых актов
ОФИЦИАЛЬНОЕ ОПУБЛИКОВАНИЕ
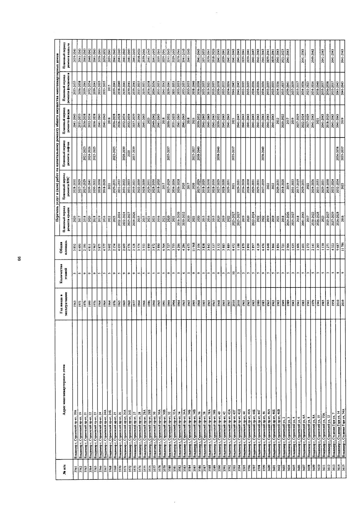
Постановление Правительства Владимирской области от 15.08.2023 № 583
"О внесении изменений в постановление Губернатора области от 30.12.2013 № 1502"
Номер опубликования: 3300202308160005
Дата опубликования: 16.08.2023
Страница №87 из 227:
Увеличить