Официальное опубликование правовых актов
ОФИЦИАЛЬНОЕ ОПУБЛИКОВАНИЕ
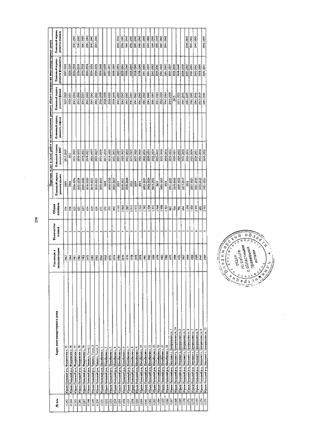
Постановление администрации Владимирской области от 15.12.2022 № 859
"О внесении изменений в постановление Губернатора области от 30.12.2013 № 1502"
Номер опубликования: 3300202212200016
Дата опубликования: 20.12.2022
Страница №226 из 226:
Увеличить