Официальное опубликование правовых актов
ОФИЦИАЛЬНОЕ ОПУБЛИКОВАНИЕ
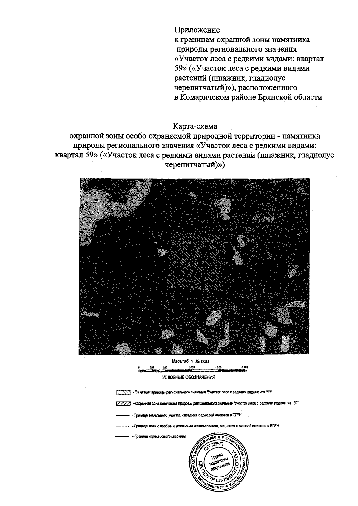
Указ Губернатора Брянской области от 12.02.2024 № 9
"Об установлении охранных зон памятников природы регионального значения, расположенных в Комаричском районе Брянской области, утверждении их положений и границ"
Номер опубликования: 3200202402190004
Дата опубликования: 19.02.2024
Страница №132 из 132:
Увеличить