Официальное опубликование правовых актов
ОФИЦИАЛЬНОЕ ОПУБЛИКОВАНИЕ
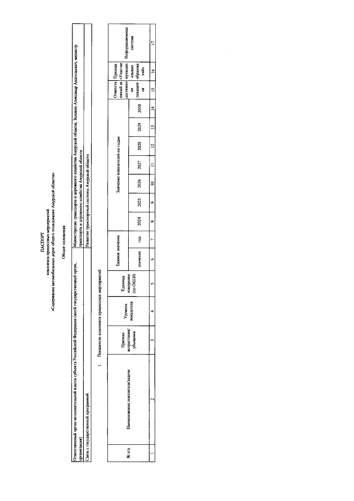
Приказ Министерства транспорта и дорожного хозяйства Амурской области от 03.09.2024 № 10
"О внесении изменений в приказ министерства транспорта и дорожного хозяйства Амурской области от 28.11.2023 № 7"
(Зарегистрирован 04.09.2024 № ИО-474)
Номер опубликования: 2801202409050005
Дата опубликования: 05.09.2024
Страница №2 из 13:
Увеличить