Официальное опубликование правовых актов
ОФИЦИАЛЬНОЕ ОПУБЛИКОВАНИЕ
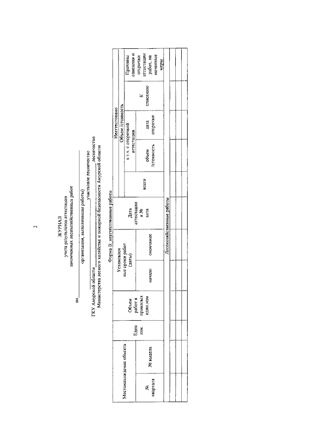
Приказ Министерства лесного хозяйства и пожарной безопасности Амурской области от 26.06.2023 № 930-ОД
"О выполнении и аттестации (приемке) работ по компенсационному лесовосстановлению"
(Зарегистрирован 28.06.2023 № ИО-86)
Номер опубликования: 2801202307010001
Дата опубликования: 01.07.2023
Страница №26 из 27:
Увеличить