Официальное опубликование правовых актов
ОФИЦИАЛЬНОЕ ОПУБЛИКОВАНИЕ
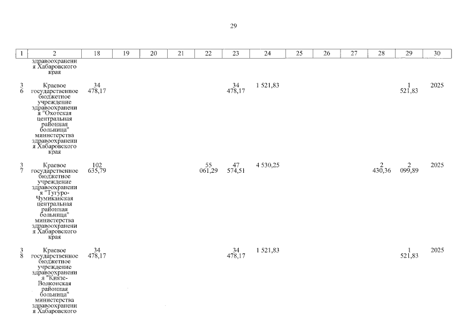
Распоряжение Правительства Хабаровского края от 04.08.2023 № 492-рп
"О внесении изменений в программу Хабаровского края "Модернизация первичного звена здравоохранения Хабаровского края", утвержденную распоряжением Правительства Хабаровского края от 15 декабря 2020 г. № 1344-рп"
Номер опубликования: 2700202308100001
Дата опубликования: 10.08.2023
Страница №30 из 69:
Увеличить