Официальное опубликование правовых актов
ОФИЦИАЛЬНОЕ ОПУБЛИКОВАНИЕ
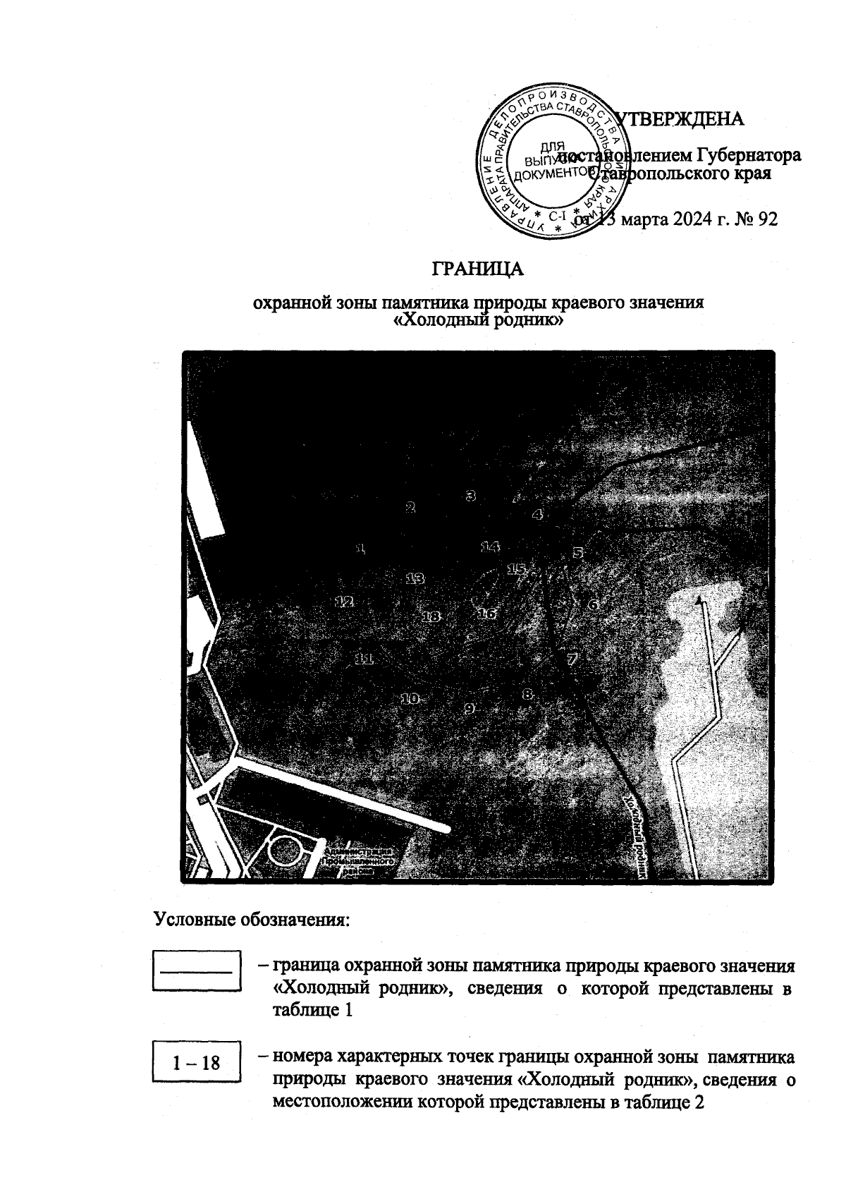
Постановление Губернатора Ставропольского края от 13.03.2024 № 92
"Об охранной зоне памятника природы краевого значения "Холодный родник"
Номер опубликования: 2600202403150007
Дата опубликования: 15.03.2024
Страница №3 из 10:
Увеличить