Официальное опубликование правовых актов
ОФИЦИАЛЬНОЕ ОПУБЛИКОВАНИЕ
Приказ Инспекции по охране объектов культурного наследия Приморского края от 21.03.2022 № 112
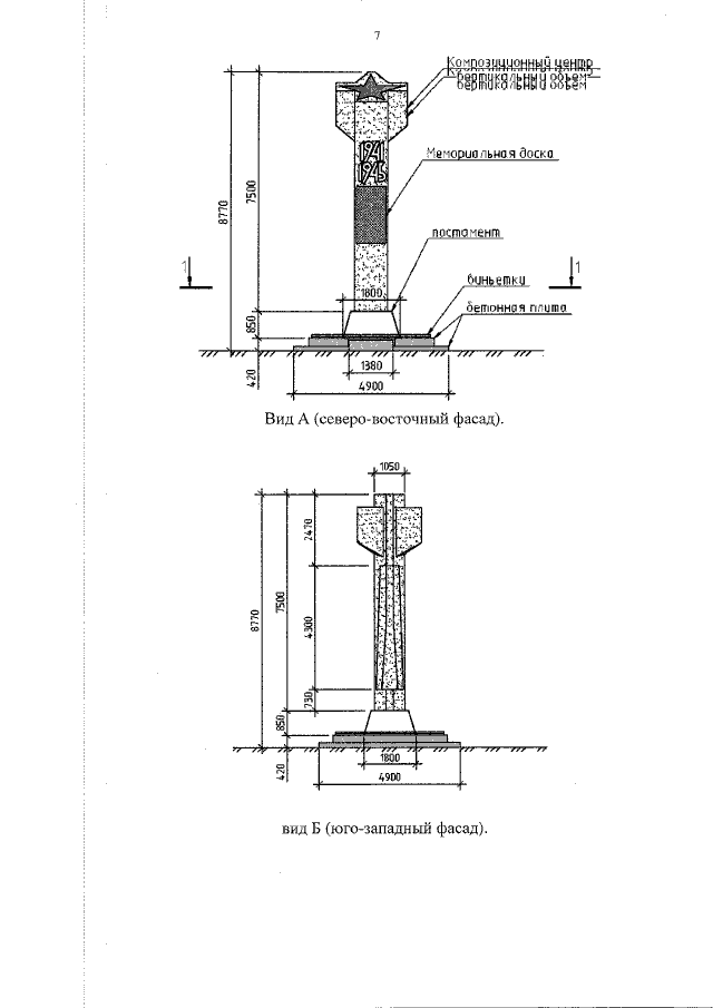
"О включении выявленного объекта культурного наследия "Монумент жителям села Анна, павшим в сражениях Великой Отечественной войны 1941-1945 гг." в единый государственный реестр объектов культурного наследия (памятников истории и культуры) народов Российской Федерации в качестве объекта культурного наследия местного (муниципального) значения, утверждении предмета охраны, границ территории и требований к осуществлению деятельности в границах территории данного объекта культурного наследия"
Номер опубликования: 2501202203250015
Дата опубликования: 25.03.2022
Страница №7 из 10:
Увеличить