Официальное опубликование правовых актов
ОФИЦИАЛЬНОЕ ОПУБЛИКОВАНИЕ
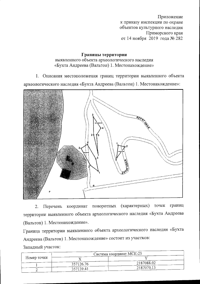
Приказ Инспекции по охране объектов культурного наследия Приморского края от 14.11.2019 № 282
"О включении объекта археологического наследия "Бухта Андреева (Вальтон) 1. Местонахождение" в перечень выявленных объектов культурного наследия и об утверждении границ его территории"
Номер опубликования: 2501201911200003
Дата опубликования: 20.11.2019
Страница №3 из 4:
Увеличить