Официальное опубликование правовых актов
ОФИЦИАЛЬНОЕ ОПУБЛИКОВАНИЕ
Приказ департамента по архитектуре и градостроительству Краснодарского края от 07.06.2023 № 83
"Об утверждении методических рекомендаций по проектированию и оформлению дизайн-проектов благоустройства муниципальных образований Краснодарского края"
Номер опубликования: 2301202306140001
Дата опубликования: 14.06.2023
Страница №103 из 163:
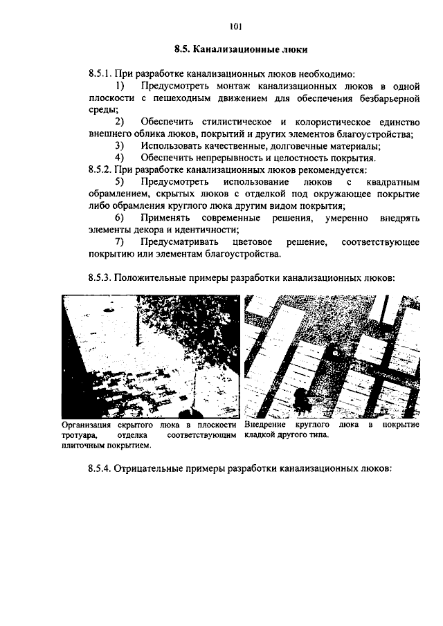
Увеличить