Официальное опубликование правовых актов
ОФИЦИАЛЬНОЕ ОПУБЛИКОВАНИЕ
Приказ министерства природных ресурсов Краснодарского края от 11.05.2023 № 566
"Об установлении зон санитарной охраны источника питьевого и хозяйственно-бытового водоснабжения общества с ограниченной ответственностью "АМД Груп" в муниципальном образовании Северский район"
Номер опубликования: 2301202305180002
Дата опубликования: 18.05.2023
Страница №3 из 32:
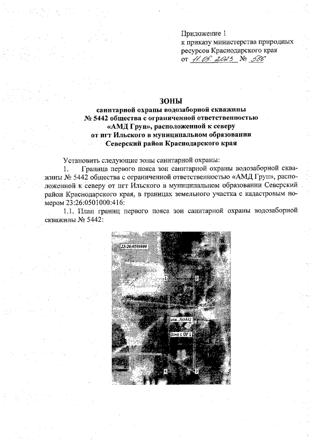
Увеличить