Официальное опубликование правовых актов
ОФИЦИАЛЬНОЕ ОПУБЛИКОВАНИЕ
Приказ администрации Краснодарского края от 09.11.2021 № 850-КН
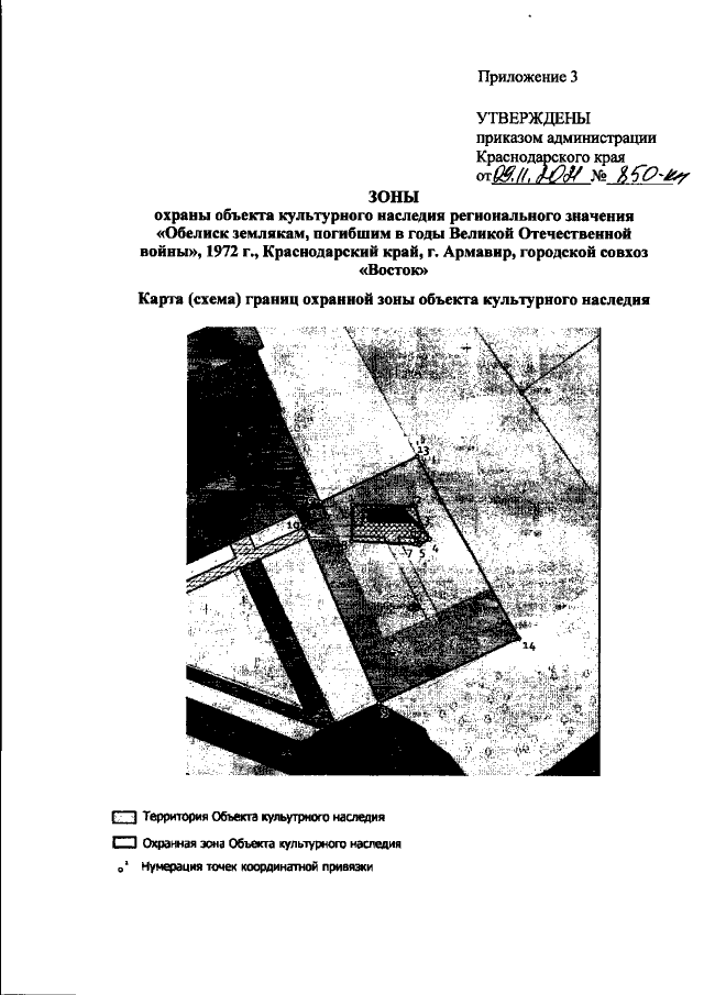
"Об утверждении границ и режима использования территории, а также установлении зон охраны, утверждении режимов использования земель и требований к градостроительным регламентам в границах территорий данных зон объекта культурного наследия регионального значения "Обелиск землякам, погибшим в годы Великой Отечественной войны", 1972 г., Краснодарский край, г. Армавир, городской совхоз "Восток"
Номер опубликования: 2301202111160007
Дата опубликования: 16.11.2021
Страница №8 из 15:
Увеличить