Официальное опубликование правовых актов
ОФИЦИАЛЬНОЕ ОПУБЛИКОВАНИЕ
Приказ министерства природных ресурсов Краснодарского края от 09.12.2020 № 1833
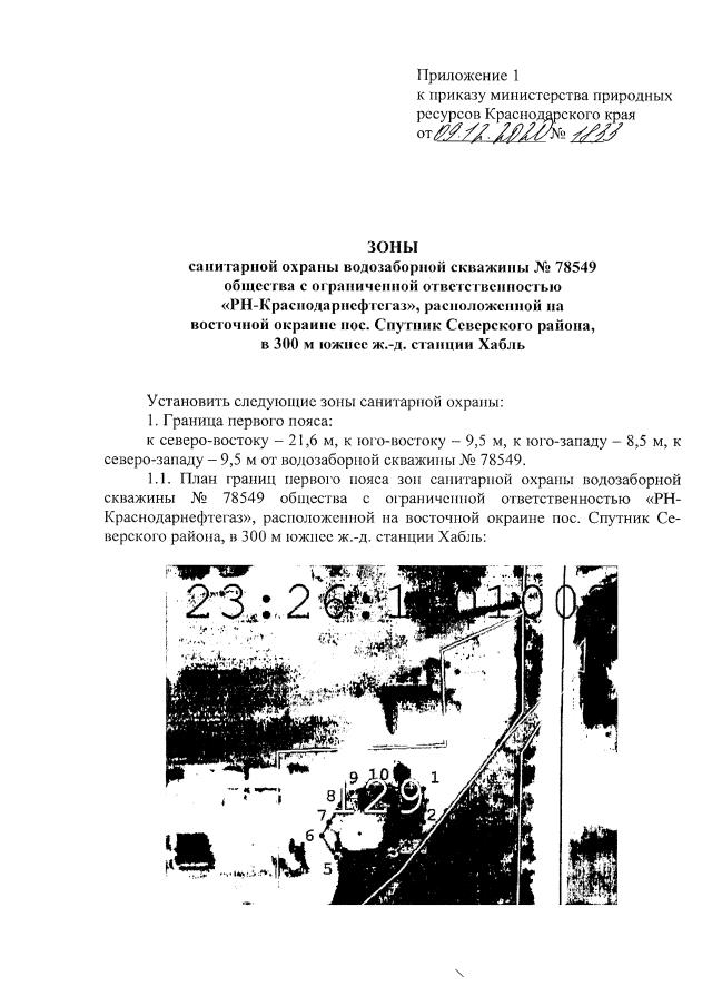
"Об установлении зон санитарной охраны источника питьевого и хозяйственно-бытового водоснабжения общества с ограниченной ответственностью "РН-Краснодарнефтегаз" в муниципальном образовании Северский район"
Номер опубликования: 2301202012160006
Дата опубликования: 16.12.2020
Страница №3 из 12:
Увеличить