Официальное опубликование правовых актов
ОФИЦИАЛЬНОЕ ОПУБЛИКОВАНИЕ
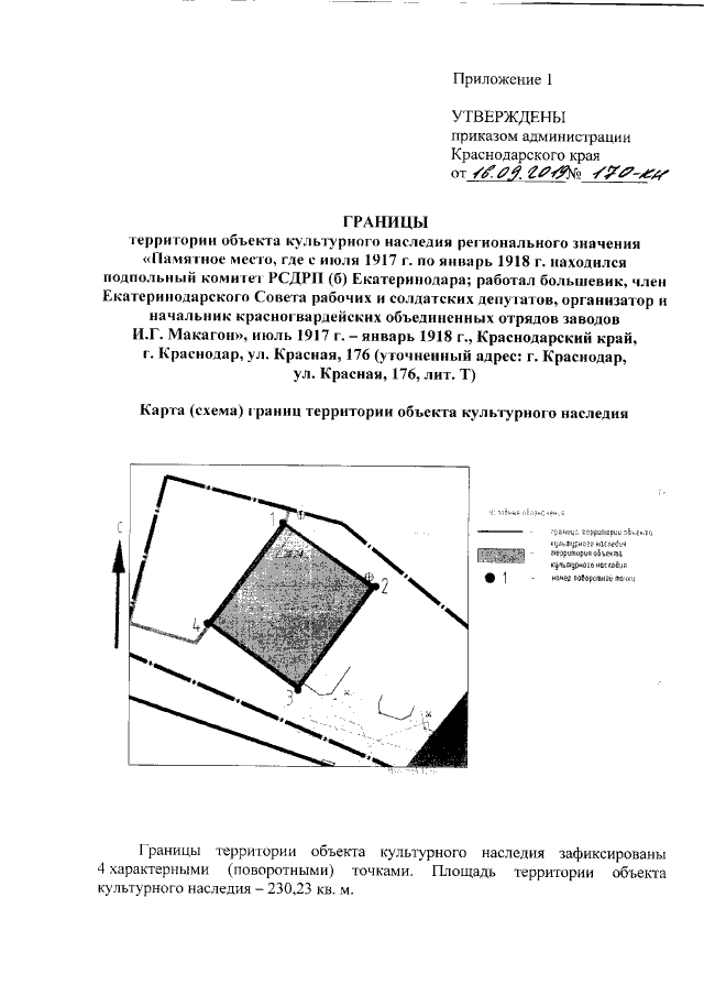
Приказ администрации Краснодарского края от 16.09.2019 № 170-КН
"Об утверждении границ территорий и требований к осуществлению деятельности и градостроительным регламентам в границах территорий объектов культурного наследия регионального значения "Памятное место, где с июля 1917 г. по январь 1918 г. находился подпольный комитет РСДРП (б) Екатеринодара; работал большевик, член Екатеринодарского Совета рабочих и солдатских депутатов, организатор и начальник красногвардейских объединенных отрядов заводов И.Г. Макагон", июль 1917 г. - январь 1918 г., Краснодарский край, г. Краснодар, ул. Красная, 176 (уточненный адрес: г. Краснодар, ул. Красная, 176, лит. Т), и "Памятное место, где в 1905 г. произошло вооруженное столкновение рабочих с царскими войсками", 1905 г., Краснодарский край, г. Краснодар, ул. Красная, у дома № 176"
Номер опубликования: 2301201909230003
Дата опубликования: 23.09.2019
Страница №3 из 16:
Увеличить