Приказ администрации Краснодарского края от 20.12.2018 № 315-КН
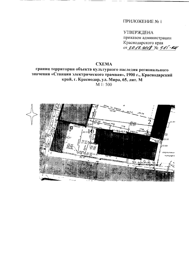
"Об утверждении границ территории объекта культурного наследия регионального значения "Станция электрического трамвая", 1900 г., Краснодарский край, г. Краснодар, ул. Мира, 65, лит. М"
"Об утверждении границ территории объекта культурного наследия регионального значения "Станция электрического трамвая", 1900 г., Краснодарский край, г. Краснодар, ул. Мира, 65, лит. М"
Номер опубликования: 2301201812250001
Дата опубликования:
25.12.2018
