Официальное опубликование правовых актов
ОФИЦИАЛЬНОЕ ОПУБЛИКОВАНИЕ
Постановление главы администрации (губернатора) Краснодарского края от 17.06.2021 № 341
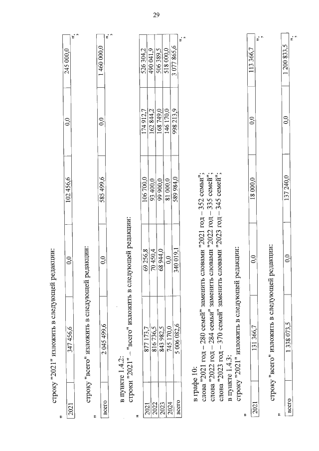
"О внесении изменений в постановление главы администрации (губернатора) Краснодарского края от 12 октября 2015 г. № 967 "Об утверждении государственной программы Краснодарского края "Развитие жилищно-коммунального хозяйства" и об осуществлении бюджетных инвестиций в объекты капитального строительства"
Номер опубликования: 2300202106240001
Дата опубликования: 24.06.2021
Страница №31 из 59:
Увеличить