Постановление главы администрации (губернатора) Краснодарского края от 13.04.2015 № 317
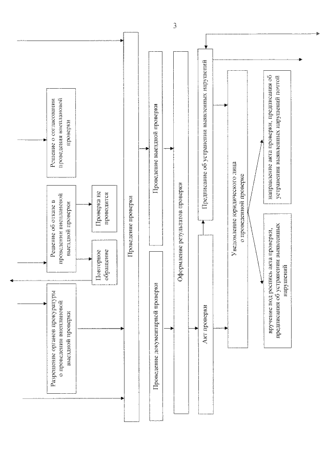
"Об утверждении административного регламента исполнения управлением по виноградарству, виноделию и алкогольной промышленности Краснодарского края государственной функции "Осуществление лицензионного контроля за розничной продажей алкогольной продукции"
"Об утверждении административного регламента исполнения управлением по виноградарству, виноделию и алкогольной промышленности Краснодарского края государственной функции "Осуществление лицензионного контроля за розничной продажей алкогольной продукции"
Номер опубликования: 2300201504160017
Дата опубликования:
16.04.2015
