Официальное опубликование правовых актов
ОФИЦИАЛЬНОЕ ОПУБЛИКОВАНИЕ
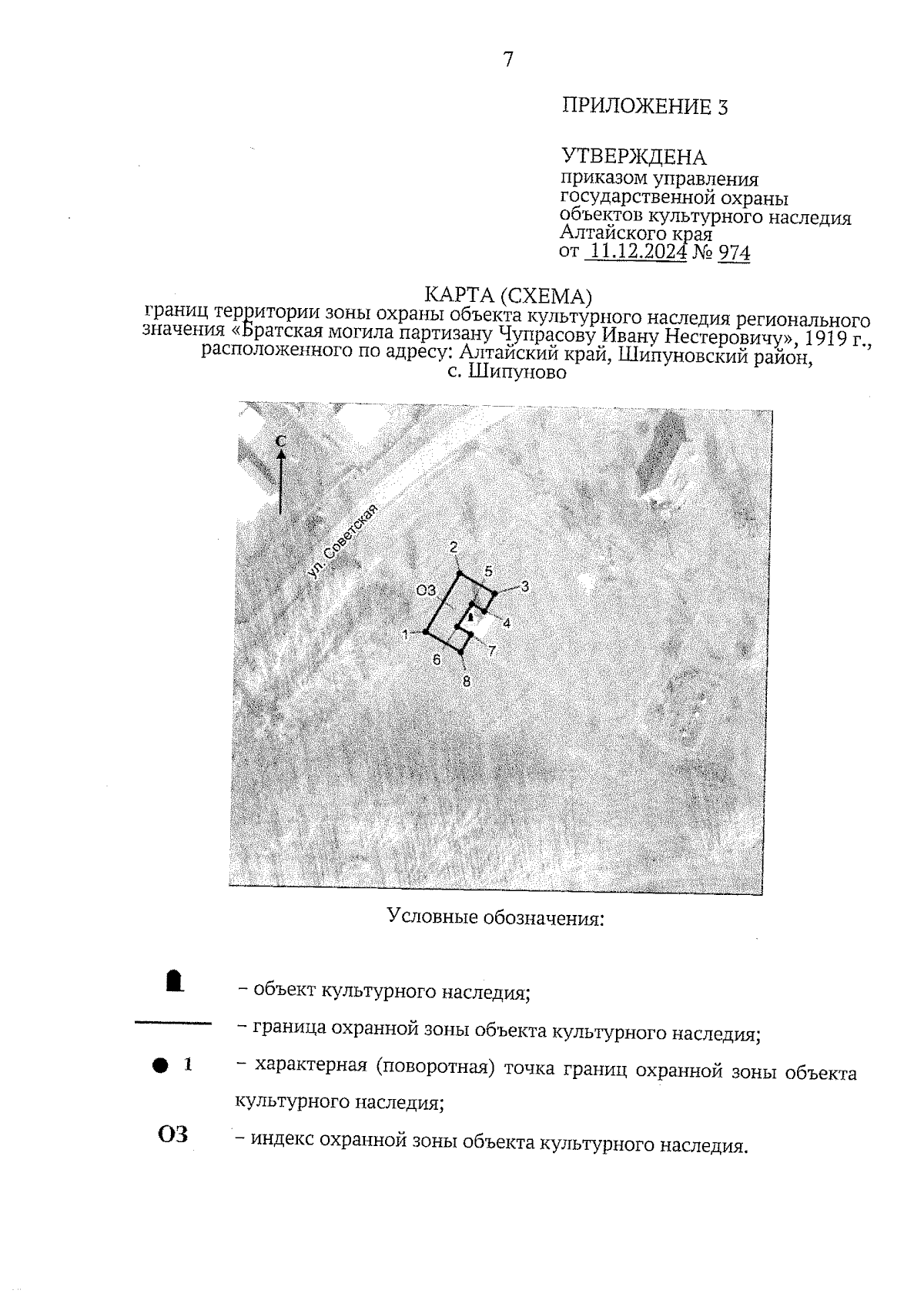
Приказ Управления государственной охраны объектов культурного наследия Алтайского края от 11.12.2024 № 974
"Об установлении зоны охраны объекта культурного наследия регионального значения "Братская могила партизану Чупрасову Ивану Нестеровичу", 1919 г., расположенного по адресу: Алтайский край, Шипуновский район, с. Шипуново, утверждении режима использования земель и требований к градостроительным регламентам в границах территории данной зоны"
(Зарегистрирован 12.12.2024 № 1916)
Номер опубликования: 2201202412120027
Дата опубликования: 12.12.2024
Страница №7 из 7:
Увеличить