Приказ Управления государственной охраны объектов культурного наследия Алтайского края от 07.11.2024 № 701
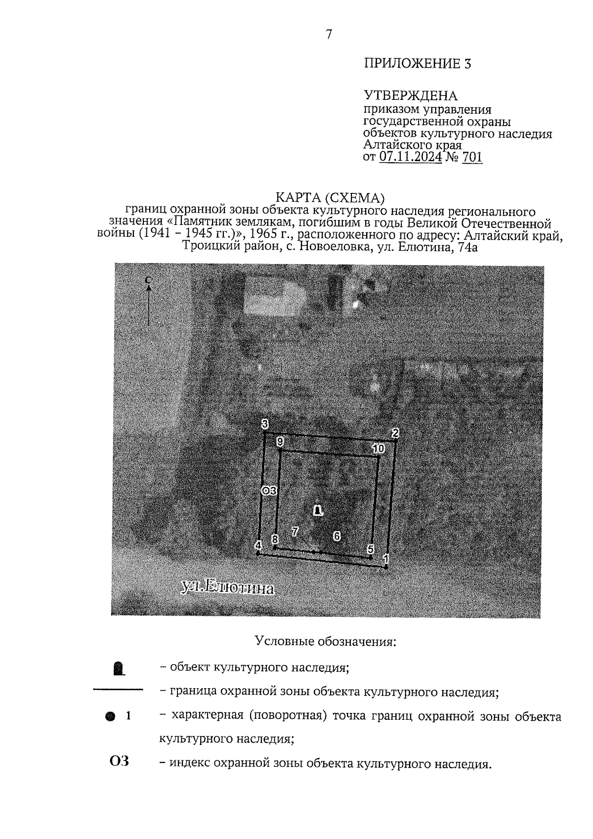
"Об установлении зоны охраны объекта культурного наследия регионального значения "Памятник землякам, погибшим в годы Великой Отечественной войны (1941 – 1945 гг.)", 1965 г., расположенного по адресу: Алтайский край, Троицкий район, с. Новоеловка, ул. Елютина, 74а, утверждении режима использования земель и требований к градостроительным регламентам в границах территории данной зоны"
(Зарегистрирован 11.11.2024 № 1501)
"Об установлении зоны охраны объекта культурного наследия регионального значения "Памятник землякам, погибшим в годы Великой Отечественной войны (1941 – 1945 гг.)", 1965 г., расположенного по адресу: Алтайский край, Троицкий район, с. Новоеловка, ул. Елютина, 74а, утверждении режима использования земель и требований к градостроительным регламентам в границах территории данной зоны"
(Зарегистрирован 11.11.2024 № 1501)
Номер опубликования: 2201202411110018
Дата опубликования:
11.11.2024
