Официальное опубликование правовых актов
ОФИЦИАЛЬНОЕ ОПУБЛИКОВАНИЕ
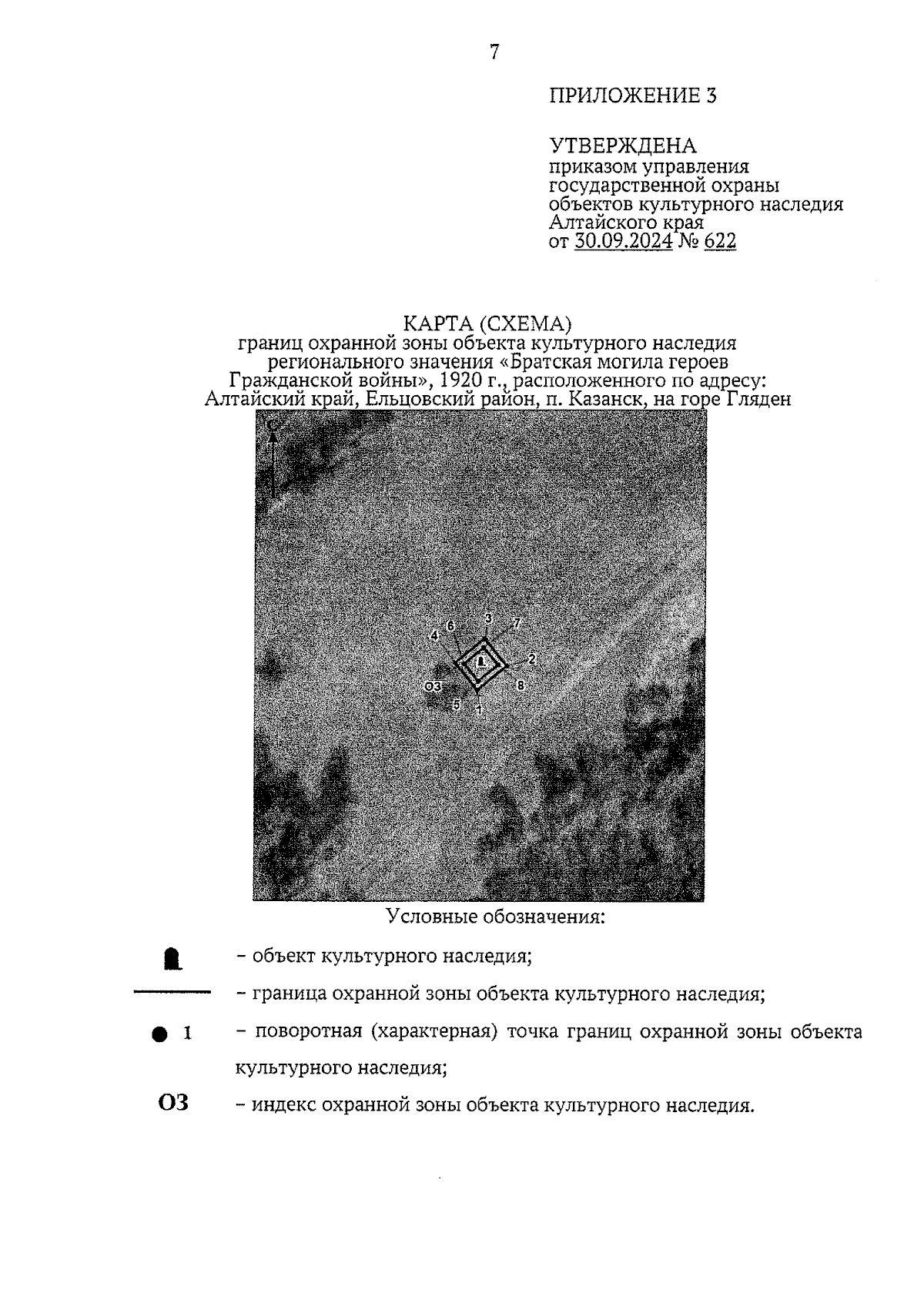
Приказ Управления государственной охраны объектов культурного наследия Алтайского края от 30.09.2024 № 622
"Об установлении зоны охраны объекта культурного наследия регионального значения "Братская могила героев Гражданской войны", 1920 г., расположенного по адресу: Алтайский край, Ельцовский район, п. Казанск, на горе Гляден, утверждении режима использования земель и требований к градостроительным регламентам в границах территории данной зоны"
(Зарегистрирован 30.09.2024 № 1180)
Номер опубликования: 2201202409300028
Дата опубликования: 30.09.2024
Страница №7 из 7:
Увеличить