Официальное опубликование правовых актов
ОФИЦИАЛЬНОЕ ОПУБЛИКОВАНИЕ
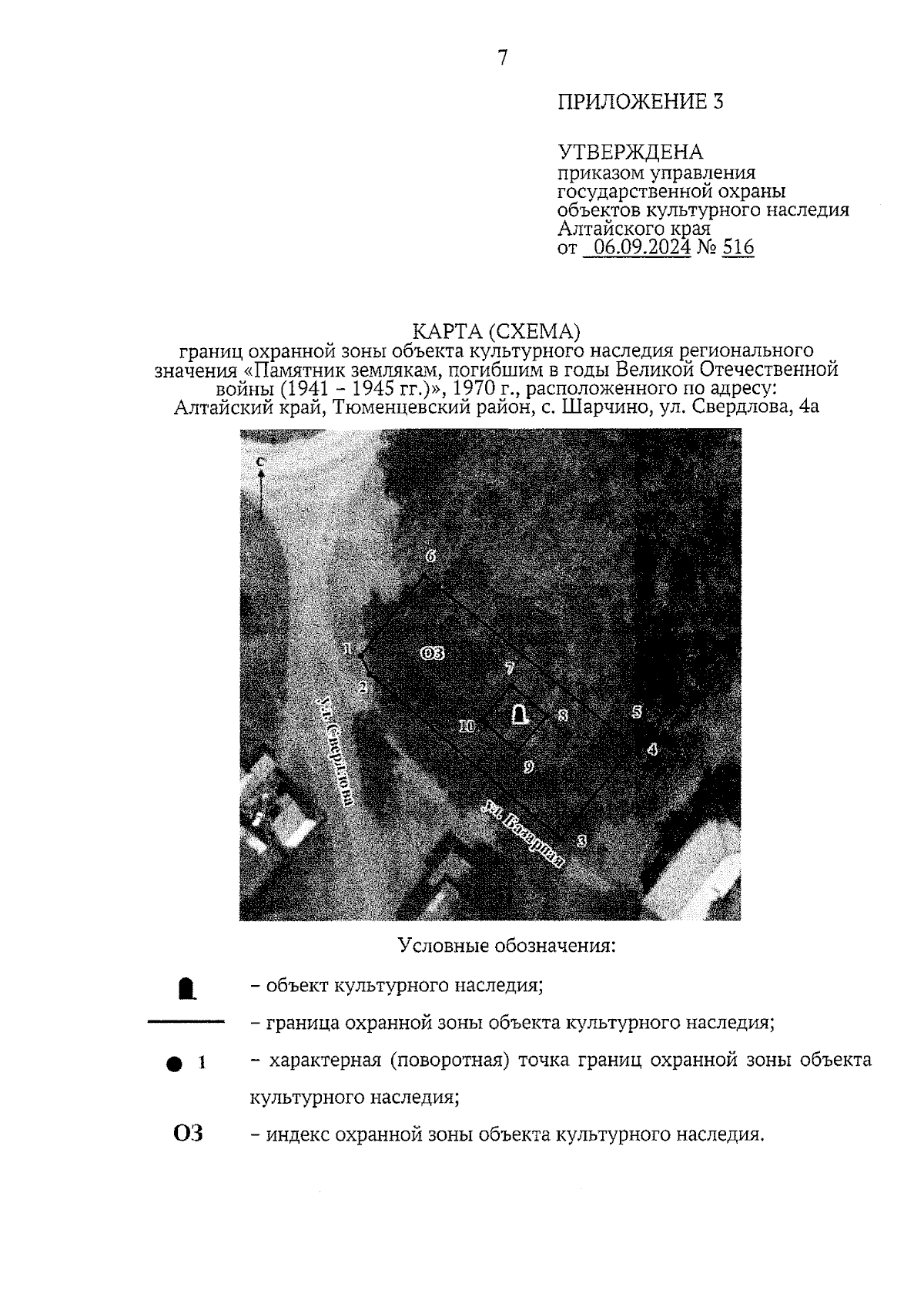
Приказ Управления государственной охраны объектов культурного наследия Алтайского края от 06.09.2024 № 516
"Об установлении зоны охраны объекта культурного наследия регионального значения "Памятник землякам, погибшим в годы Великой Отечественной войны (1941 – 1945 гг.)", 1970 г., расположенного по адресу: Алтайский край, Тюменцевский район, с. Шарчино, ул. Свердлова, 4а, утверждении режима использования земель и требований к градостроительным регламентам в границах территории данной зоны"
(Зарегистрирован 09.09.2024 № 1019)
Номер опубликования: 2201202409100004
Дата опубликования: 10.09.2024
Страница №7 из 7:
Увеличить