Официальное опубликование правовых актов
ОФИЦИАЛЬНОЕ ОПУБЛИКОВАНИЕ
Приказ Управления государственной охраны объектов культурного наследия Алтайского края от 02.09.2024 № 479
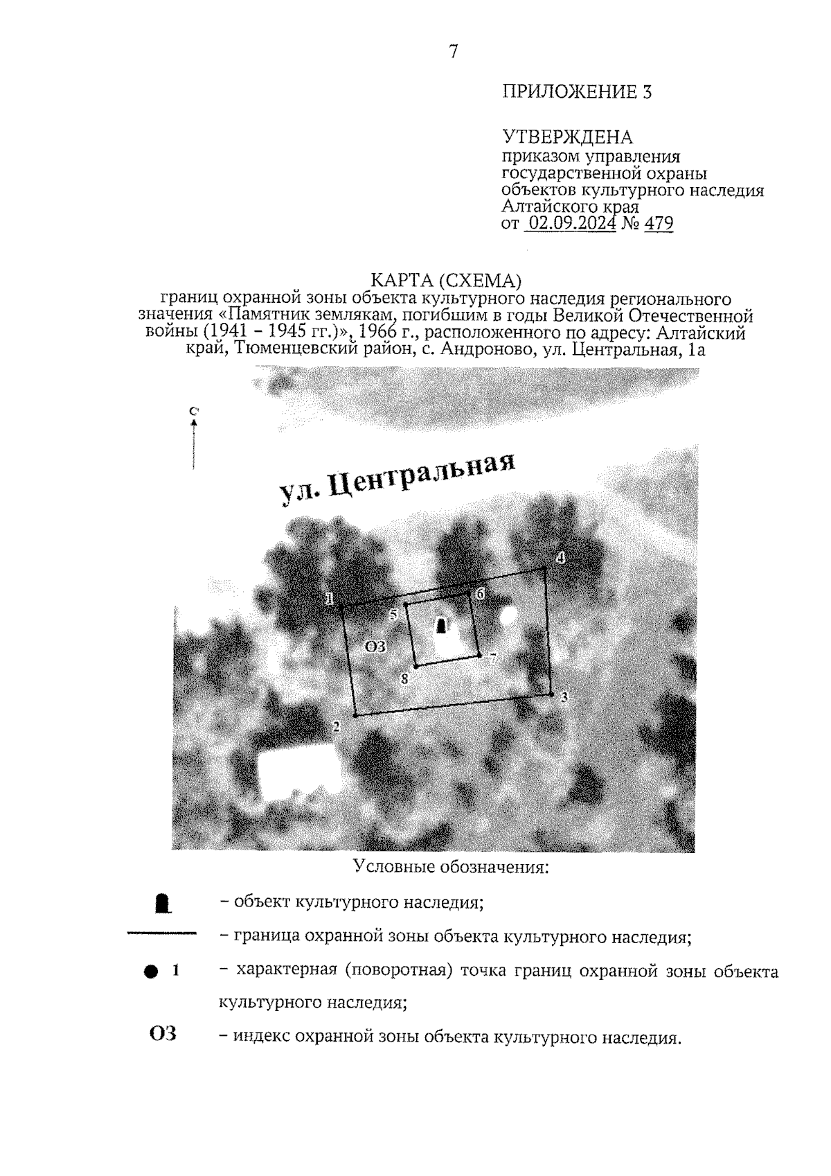
"Об установлении зоны охраны объекта культурного наследия регионального значения "Памятник землякам, погибшим в годы Великой Отечественной войны (1941 – 1945 гг.)", 1966 г., расположенного по адресу: Алтайский край, Тюменцевский район, с. Андроново, ул. Центральная, 1а, утверждении режима использования земель и требований к градостроительным регламентам в границах территории данной зоны"
(Зарегистрирован 02.09.2024 № 963)
Номер опубликования: 2201202409030006
Дата опубликования: 03.09.2024
Страница №7 из 7:
Увеличить