Приказ Управления государственной охраны объектов культурного наследия Алтайского края от 14.11.2023 № 802
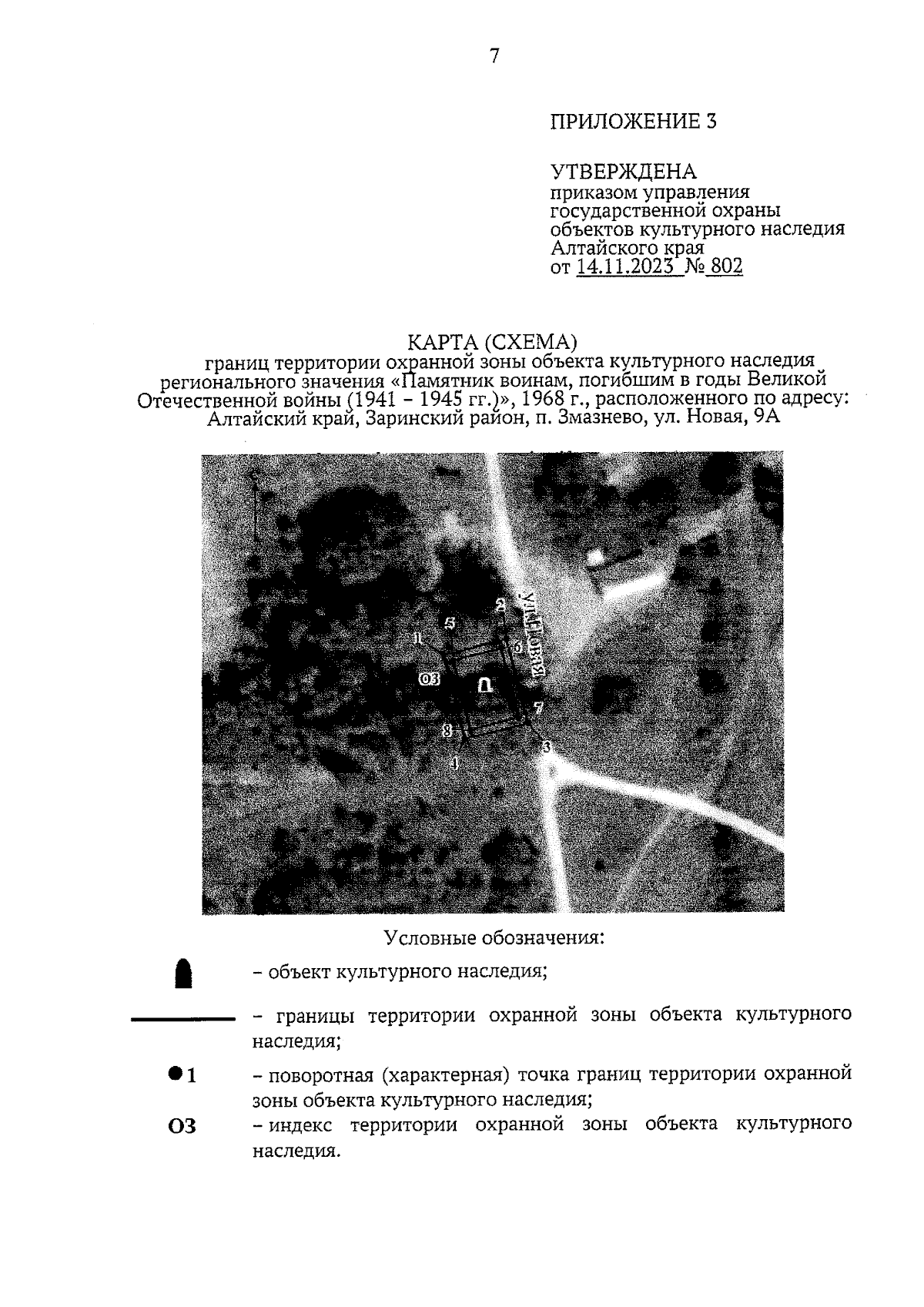
"Об установлении зоны охраны объекта культурного наследия регионального значения "Памятник воинам, погибшим в годы Великой Отечественной войны (1941 – 1945 гг.)", 1968 г., расположенного по адресу: Алтайский край, Заринский район, п. Змазнево, ул. Новая, 9А, утверждении режима использования земель и требований к градостроительным регламентам в границах территории данной зоны"
(Зарегистрирован 16.11.2023 № 1541)
"Об установлении зоны охраны объекта культурного наследия регионального значения "Памятник воинам, погибшим в годы Великой Отечественной войны (1941 – 1945 гг.)", 1968 г., расположенного по адресу: Алтайский край, Заринский район, п. Змазнево, ул. Новая, 9А, утверждении режима использования земель и требований к градостроительным регламентам в границах территории данной зоны"
(Зарегистрирован 16.11.2023 № 1541)
Номер опубликования: 2201202311160001
Дата опубликования:
16.11.2023
