Приказ Управления государственной охраны объектов культурного наследия Алтайского края от 14.11.2023 № 799
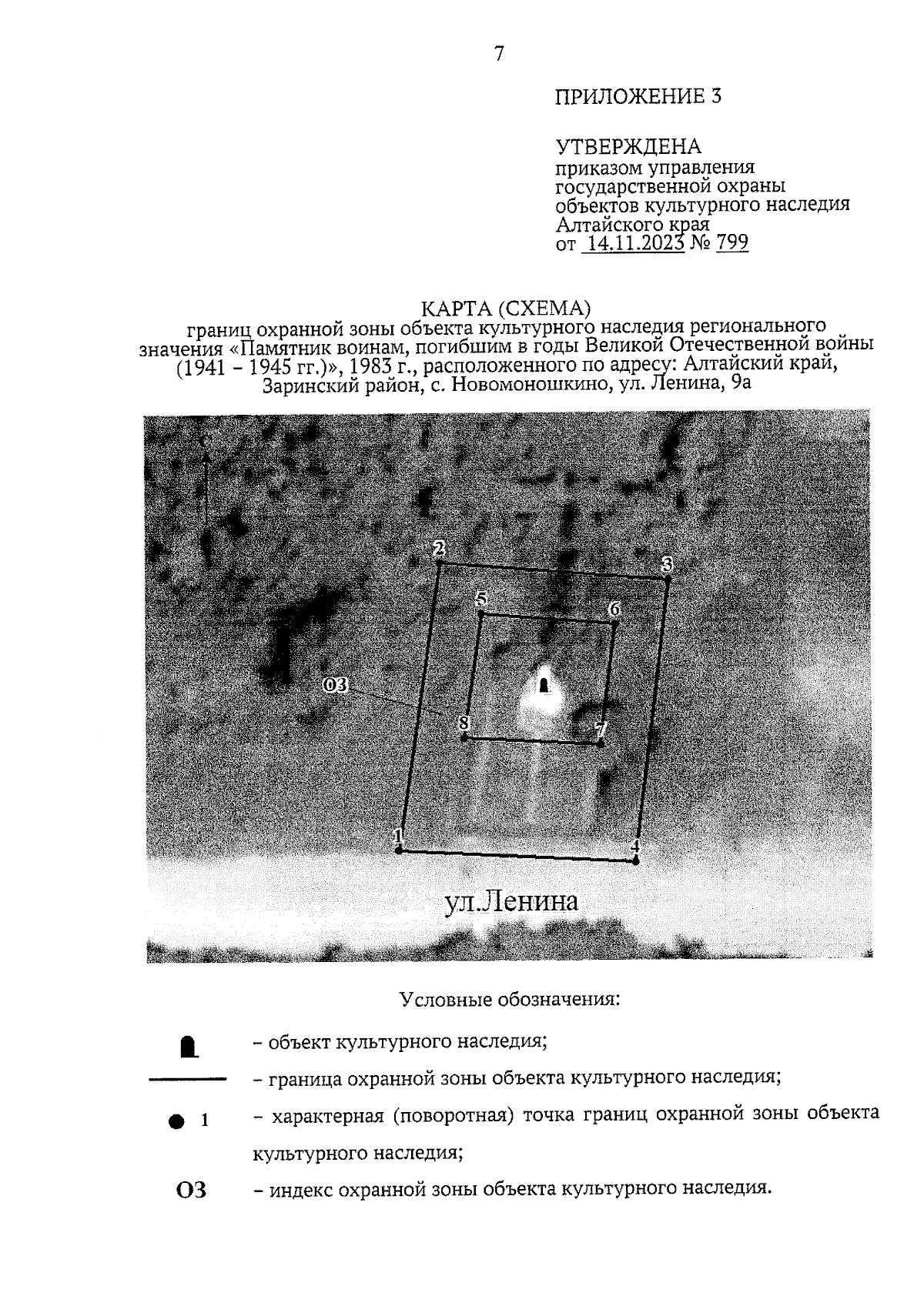
"Об установлении зоны охраны объекта культурного наследия регионального значения "Памятник воинам, погибшим в годы Великой Отечественной войны (1941 – 1945 гг.)", 1983 г., расположенного по адресу: Алтайский край, Заринский район, с. Новомоношкино, ул. Ленина, 9а, утверждении режима использования земель и требований к градостроительным регламентам в границах территории данной зоны"
(Зарегистрирован 15.11.2023 № 1531)
"Об установлении зоны охраны объекта культурного наследия регионального значения "Памятник воинам, погибшим в годы Великой Отечественной войны (1941 – 1945 гг.)", 1983 г., расположенного по адресу: Алтайский край, Заринский район, с. Новомоношкино, ул. Ленина, 9а, утверждении режима использования земель и требований к градостроительным регламентам в границах территории данной зоны"
(Зарегистрирован 15.11.2023 № 1531)
Номер опубликования: 2201202311150008
Дата опубликования:
15.11.2023
