Официальное опубликование правовых актов
ОФИЦИАЛЬНОЕ ОПУБЛИКОВАНИЕ
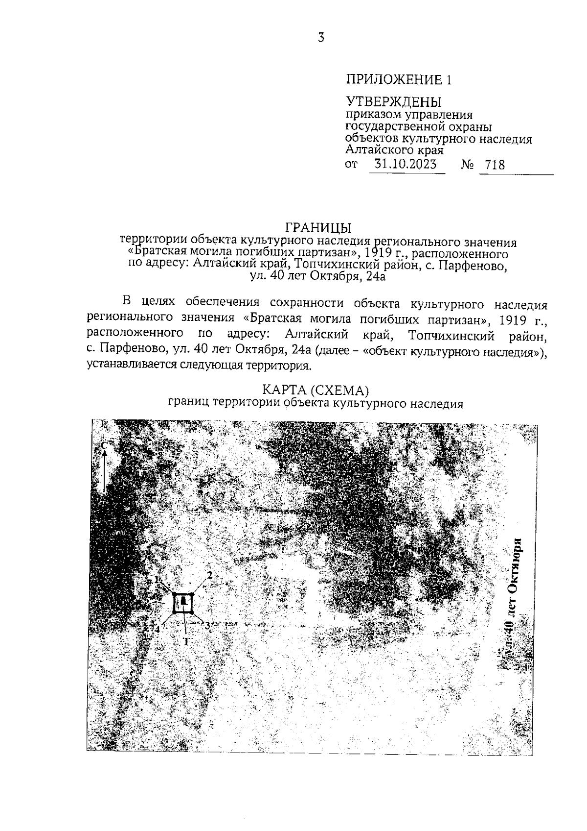
Приказ Управления государственной охраны объектов культурного наследия Алтайского края от 31.10.2023 № 718
"Об утверждении границ территории и режима использования территории объекта культурного наследия регионального значения "Братская могила погибших партизан", 1919 г., расположенного по адресу: Алтайский край, Топчихинский район, с. Парфеново, ул. 40 лет Октября, 24а"
(Зарегистрирован 01.11.2023 № 1421)
Номер опубликования: 2201202311020016
Дата опубликования: 02.11.2023
Страница №3 из 6:
Увеличить