Приказ Управления государственной охраны объектов культурного наследия Алтайского края от 30.10.2023 № 690
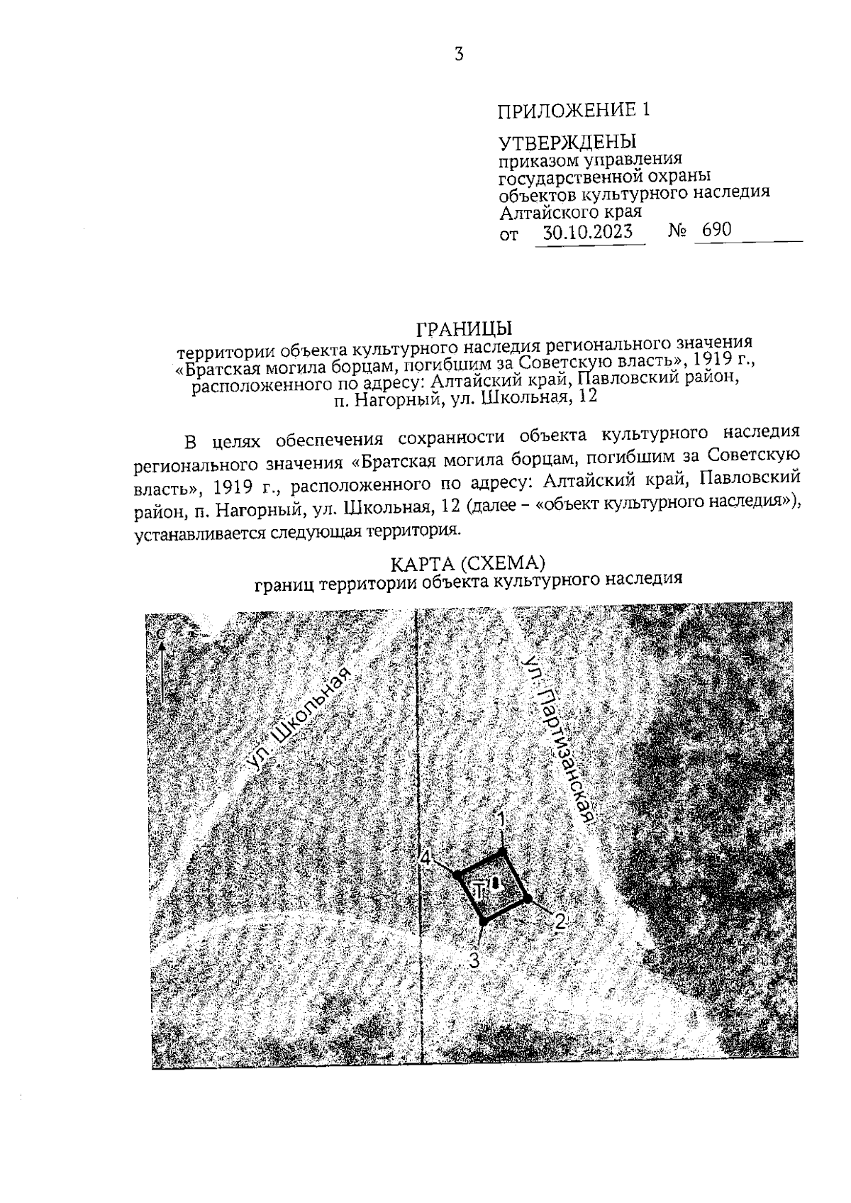
"Об утверждении границ территории и режима использования территории объекта культурного наследия регионального значения "Братская могила борцам, погибшим за Советскую власть ", 1919 г., расположенного по адресу: Алтайский край, Павловский район, п. Нагорный, ул. Школьная, 12"
(Зарегистрирован 31.10.2023 № 1386)
"Об утверждении границ территории и режима использования территории объекта культурного наследия регионального значения "Братская могила борцам, погибшим за Советскую власть ", 1919 г., расположенного по адресу: Алтайский край, Павловский район, п. Нагорный, ул. Школьная, 12"
(Зарегистрирован 31.10.2023 № 1386)
Номер опубликования: 2201202310310003
Дата опубликования:
31.10.2023
