Официальное опубликование правовых актов
ОФИЦИАЛЬНОЕ ОПУБЛИКОВАНИЕ
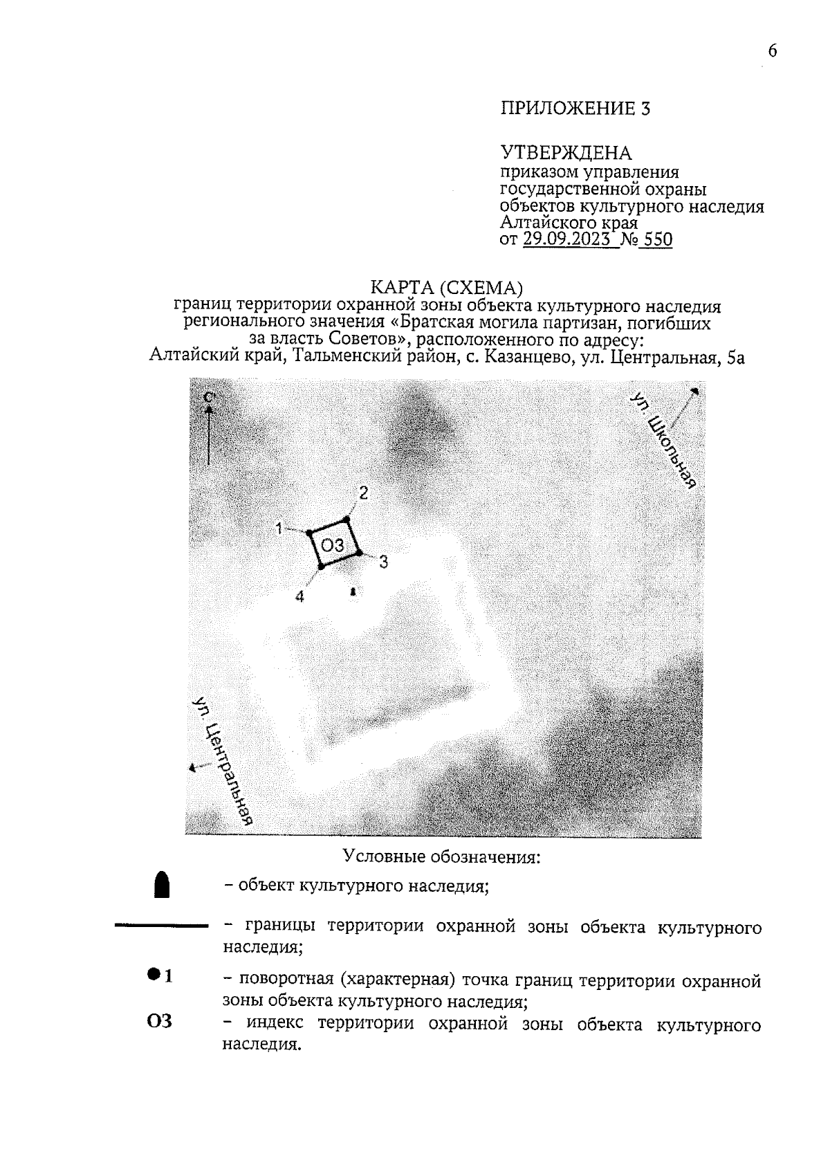
Приказ Управления государственной охраны объектов культурного наследия Алтайского края от 29.09.2023 № 550
"Об установлении зоны охраны объекта культурного наследия регионального значения "Братская могила партизан, погибших за власть Советов", расположенного по адресу: Алтайский край, Тальменский район, с. Казанцево, ул. Центральная, 5а, утверждении режима использования земель и требований к градостроительным регламентам в границах территории данной зоны"
(Зарегистрирован 02.10.2023 № 1222)
Номер опубликования: 2201202310020010
Дата опубликования: 02.10.2023
Страница №6 из 6:
Увеличить