Приказ Управления государственной охраны объектов культурного наследия Алтайского края от 27.09.2023 № 537
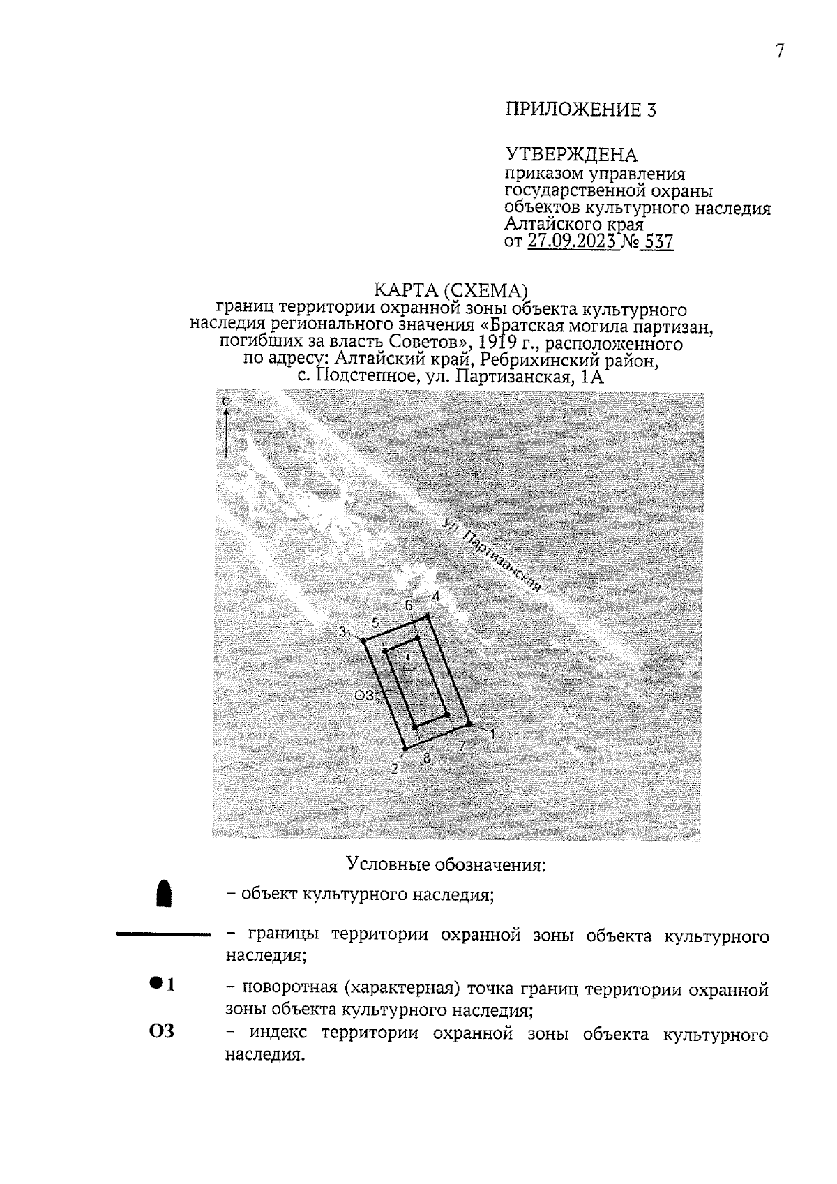
"Об установлении зоны охраны объекта культурного наследия регионального значения "Братская могила партизан, погибших за власть Советов", 1919 г., расположенного по адресу: Алтайский край, Ребрихинский район, с. Подстепное, ул. Партизанская, 1А, утверждении режима использования земель и требований к градостроительным регламентам в границах территории данной зоны"
(Зарегистрирован 28.09.2023 № 1198)
"Об установлении зоны охраны объекта культурного наследия регионального значения "Братская могила партизан, погибших за власть Советов", 1919 г., расположенного по адресу: Алтайский край, Ребрихинский район, с. Подстепное, ул. Партизанская, 1А, утверждении режима использования земель и требований к градостроительным регламентам в границах территории данной зоны"
(Зарегистрирован 28.09.2023 № 1198)
Номер опубликования: 2201202309280006
Дата опубликования:
28.09.2023
