Официальное опубликование правовых актов
ОФИЦИАЛЬНОЕ ОПУБЛИКОВАНИЕ
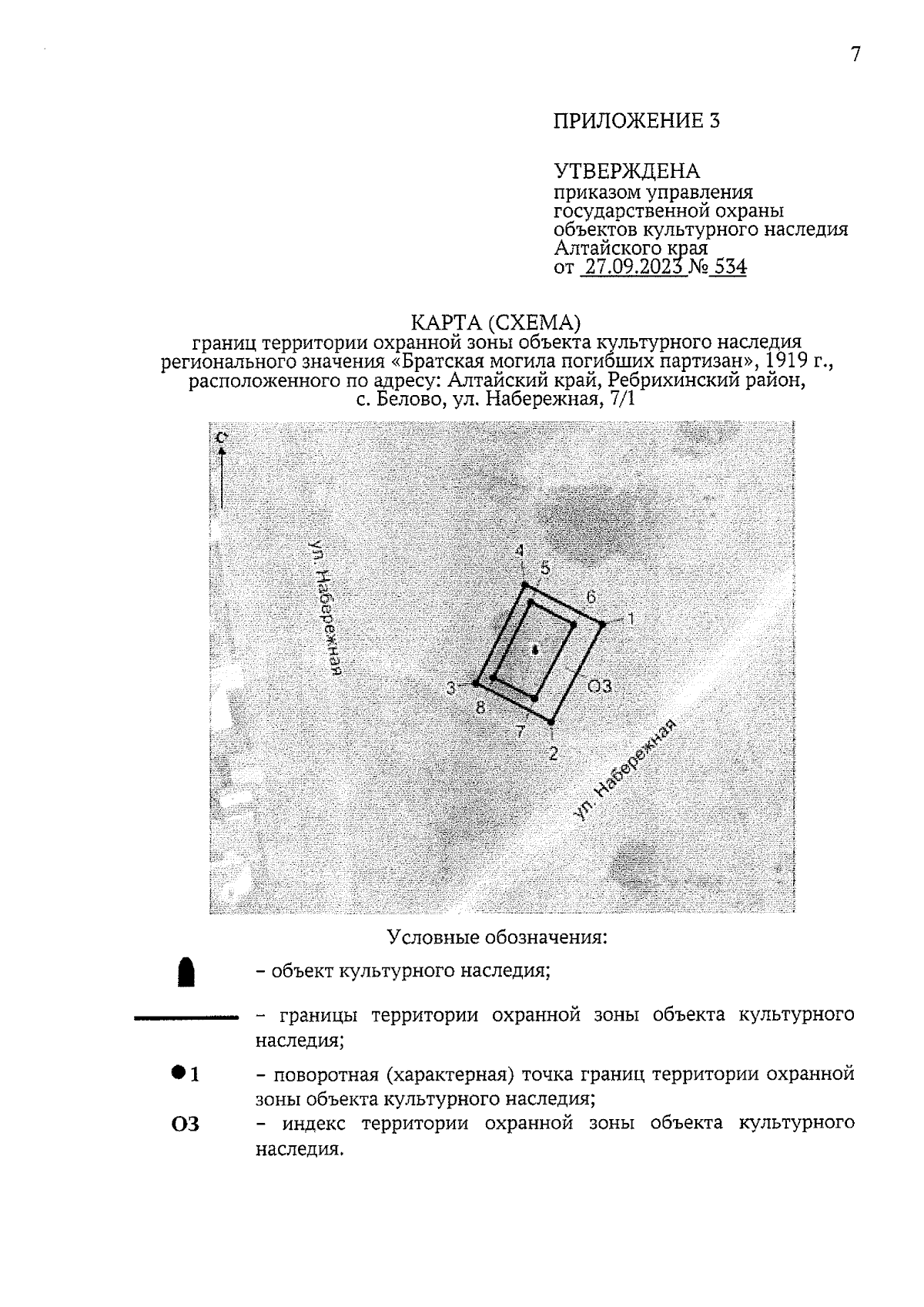
Приказ Управления государственной охраны объектов культурного наследия Алтайского края от 27.09.2023 № 534
"Об установлении зоны охраны объекта культурного наследия регионального значения "Братская могила погибших партизан", 1919 г., расположенного по адресу: Алтайский край, Ребрихинский район, с. Белово, ул. Набережная, 7/1, утверждении режима использования земель и требований к градостроительным регламентам в границах территории данной зоны"
(Зарегистрирован 28.09.2023 № 1201)
Номер опубликования: 2201202309280003
Дата опубликования: 28.09.2023
Страница №7 из 7:
Увеличить