Официальное опубликование правовых актов
ОФИЦИАЛЬНОЕ ОПУБЛИКОВАНИЕ
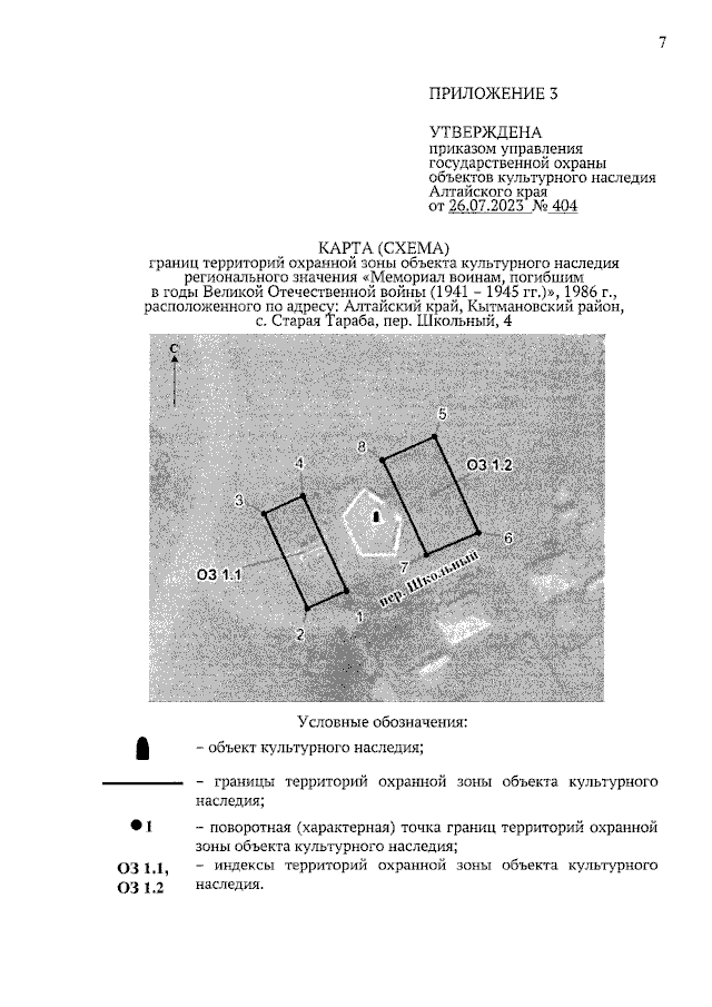
Приказ Управления государственной охраны объектов культурного наследия Алтайского края от 26.07.2023 № 404
"Об установлении зоны охраны объекта культурного наследия регионального значения "Мемориал воинам, погибшим в годы Великой Отечественной войны (1941 – 1945 гг.)", 1986 г., расположенного по адресу: Алтайский край, Кытмановский район, с. Старая Тараба, пер. Школьный, 4, утверждении режима использования земель и требований к градостроительным регламентам в границах территории данной зоны"
(Зарегистрирован 27.07.2023 № 932)
Номер опубликования: 2201202307270014
Дата опубликования: 27.07.2023
Страница №7 из 7:
Увеличить