Официальное опубликование правовых актов
ОФИЦИАЛЬНОЕ ОПУБЛИКОВАНИЕ
Приказ Управления государственной охраны объектов культурного наследия Алтайского края от 10.05.2023 № 250
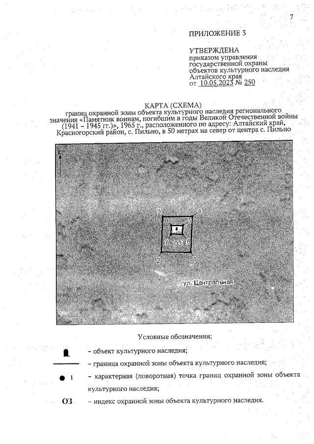
"Об установлении зоны охраны объекта культурного наследия регионального значения "Памятник воинам, погибшим в годы Великой Отечественной войны (1941 – 1945 гг.)", 1965 г., расположенного по адресу: Алтайский край, Красногорский район, с. Пильно, в 50 метрах на север от центра с. Пильно, утверждении режима использования земель и требований к градостроительным регламентам в границах территории данной зоны"
(Зарегистрирован 11.05.2023 № 524)
Номер опубликования: 2201202305110022
Дата опубликования: 11.05.2023
Страница №7 из 7:
Увеличить