Приказ Управления государственной охраны объектов культурного наследия Алтайского края от 18.11.2022 № 1792
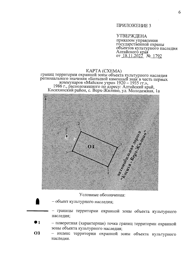
"Об установлении зоны охраны объекта культурного наследия регионального значения "Большой каменный знак в честь первых коммунаров "Майское утро" 1920 – 1935 гг.", 1986 г., расположенного по адресу: Алтайский край, Косихинский район, с. Верх-Жилино, ул. Молодежная, 1а, утверждении режима использования земель и требований к градостроительным регламентам в границах территории данной зоны"
"Об установлении зоны охраны объекта культурного наследия регионального значения "Большой каменный знак в честь первых коммунаров "Майское утро" 1920 – 1935 гг.", 1986 г., расположенного по адресу: Алтайский край, Косихинский район, с. Верх-Жилино, ул. Молодежная, 1а, утверждении режима использования земель и требований к градостроительным регламентам в границах территории данной зоны"
Номер опубликования: 2201202211180051
Дата опубликования:
18.11.2022
