Официальное опубликование правовых актов
ОФИЦИАЛЬНОЕ ОПУБЛИКОВАНИЕ
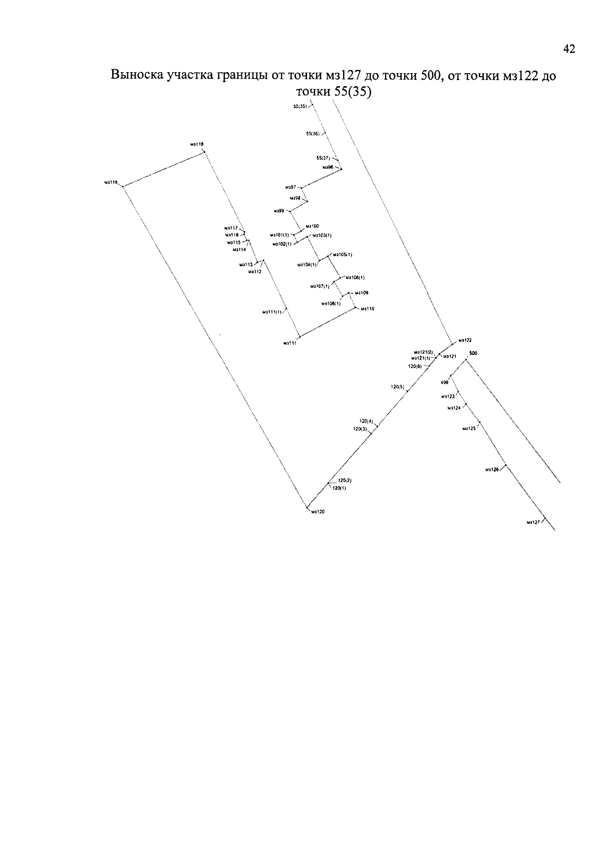
Закон Алтайского края от 04.10.2024 № 66-ЗС
"О внесении изменений в закон Алтайского края "О статусе и границах муниципальных и административно-территориальных образований Первомайского района Алтайского края"
Номер опубликования: 2200202410070001
Дата опубликования: 07.10.2024
Страница №42 из 68:
Увеличить