Приказ Министерства здравоохранения Чеченской Республики от 08.04.2025 № 73
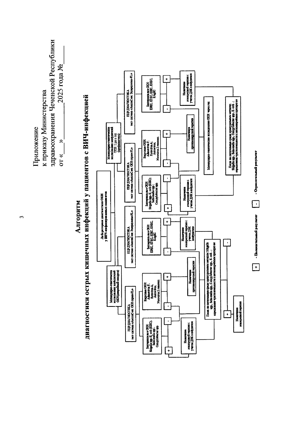
"Об оптимизации эпидемиологического надзора за пациентами с ВИЧ-инфекцией, сочетанной с острыми кишечными инфекциями, на территории Чеченской Республики"
"Об оптимизации эпидемиологического надзора за пациентами с ВИЧ-инфекцией, сочетанной с острыми кишечными инфекциями, на территории Чеченской Республики"
Номер опубликования: 2001202504140001
Дата опубликования:
14.04.2025
