Официальное опубликование правовых актов
ОФИЦИАЛЬНОЕ ОПУБЛИКОВАНИЕ
Постановление Правительства Удмуртской Республики от 09.04.2020 № 114
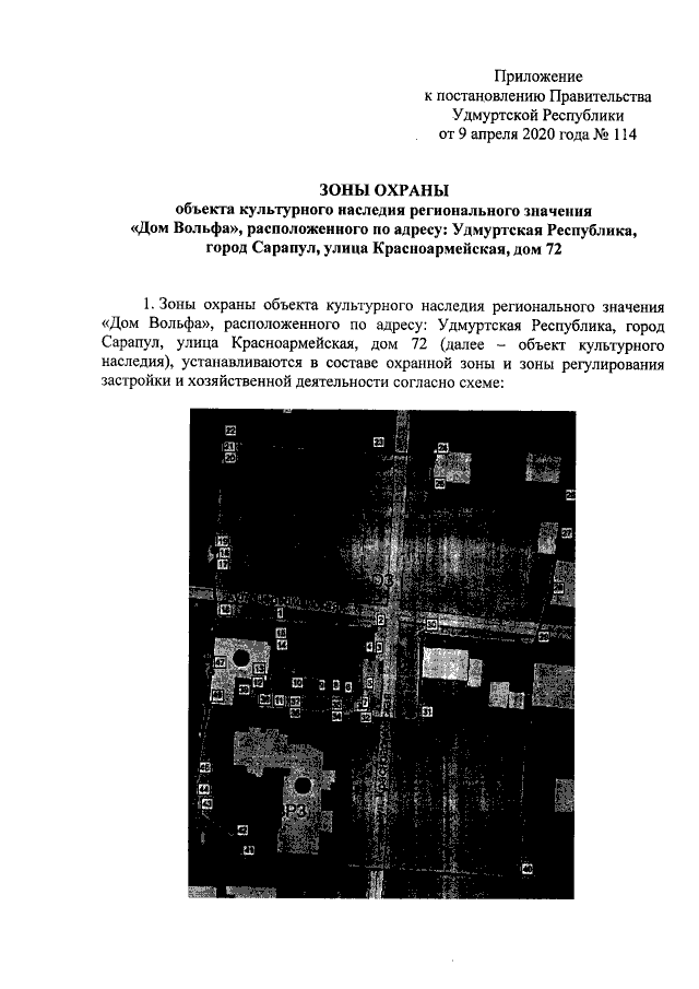
"Об установлении зон охраны объекта культурного наследия регионального значения "Дом Вольфа" и утверждении требований к градостроительным регламентам в границах территорий данных зон"
Номер опубликования: 1800202004130002
Дата опубликования: 13.04.2020
Страница №3 из 11:
Увеличить