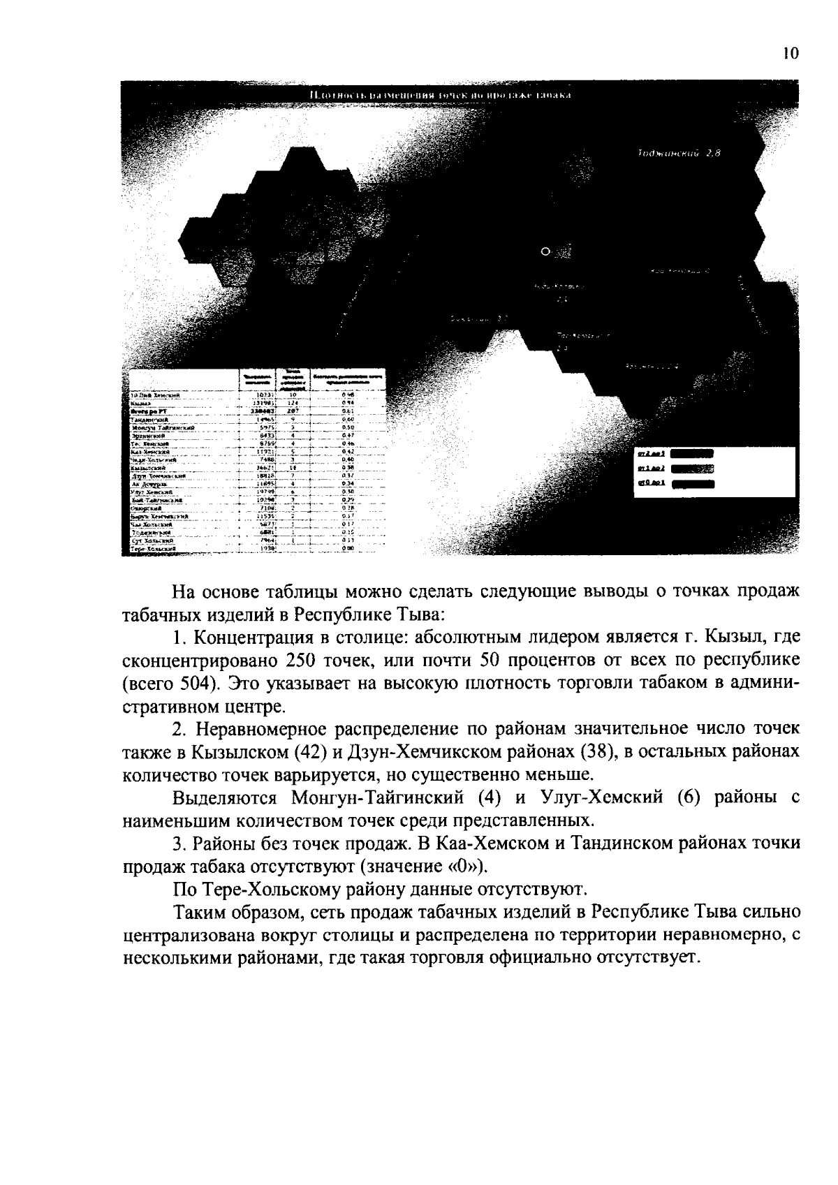
Официальное опубликование правовых актов
ОФИЦИАЛЬНОЕ ОПУБЛИКОВАНИЕ
Постановление Правительства Республики Тыва от 28.01.2026 № 18
"Об утверждении региональной программы Республики Тыва "Укрепление здоровья и формирование здоровьесберегающей среды в Республике Тыва на 2025-2030 годы"
Номер опубликования: 1700202602060001
Дата опубликования: 06.02.2026
Страница №11 из 69:
Увеличить