Официальное опубликование правовых актов
ОФИЦИАЛЬНОЕ ОПУБЛИКОВАНИЕ
Постановление Правительства Республики Тыва от 12.12.2025 № 595
"Об утверждении региональной программы Республики Тыва "Охрана материнства и детства в Республике Тыва на 2025-2030 годы"
Номер опубликования: 1700202512190001
Дата опубликования: 19.12.2025
Страница №34 из 160:
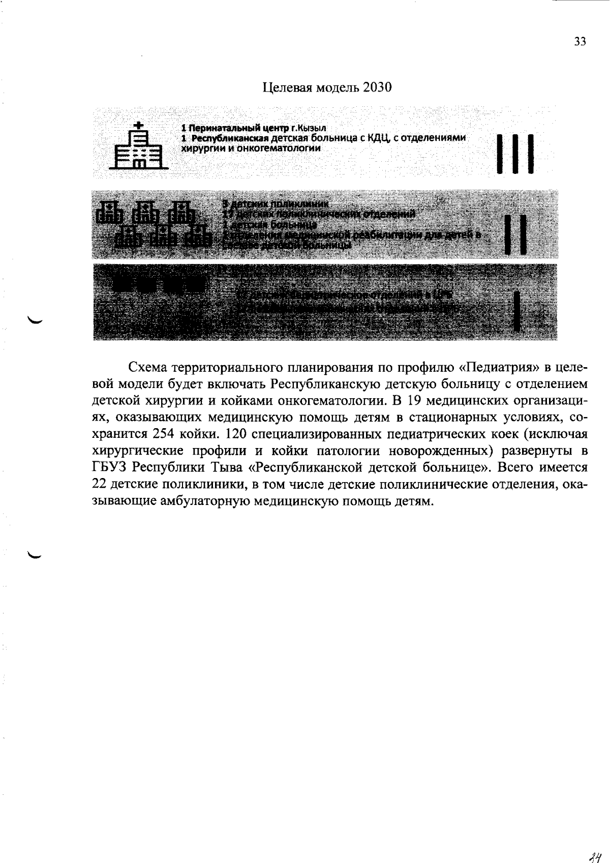
Увеличить