Официальное опубликование правовых актов
ОФИЦИАЛЬНОЕ ОПУБЛИКОВАНИЕ
Приказ Комитета по охране и использованию объектов культурного наследия Республики Северная Осетия-Алания от 22.05.2024 № 171
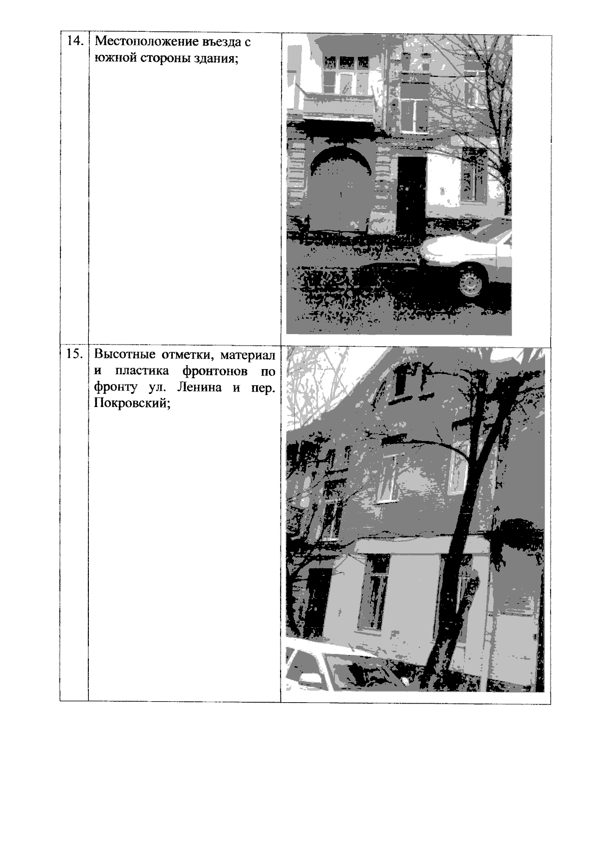
"06 утверждении предмета охраны объекта культурного наследия регионального значения "Доходный дом Проценко Л.Е. Литер А, Б, б. 1898 -1909 гг.", расположенного по адресу: Республика Северная Осетия-Алания, г. Владикавказ, пер. Петровский, 9 / ул. Ленина, 69"
(Зарегистрирован 23.05.2024 № 0121-24-2)
Номер опубликования: 1501202405290002
Дата опубликования: 29.05.2024
Страница №11 из 12:
Увеличить