Официальное опубликование правовых актов
ОФИЦИАЛЬНОЕ ОПУБЛИКОВАНИЕ
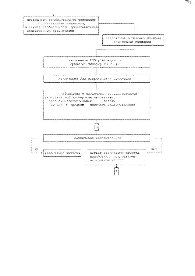
Приказ Министерства экологии, природопользования и лесного хозяйства Республики Саха (Якутия) от 18.01.2019 № 01-05/1-32
"О внесении изменений в приказ Министерства охраны природы Республики Саха (Якутия) от 13.05.2016 № 01-05/1-206 "Об утверждении Административного регламента Министерства охраны природы Республики Саха (Якутия) по предоставлению государственной услуги "Государственная экологическая экспертиза объектов регионального уровня" (новая редакция)"
(Зарегистрирован 04.02.2019 № RU140142019224)
Номер опубликования: 1401201902040001
Дата опубликования: 04.02.2019
Страница №13 из 13:
Увеличить